EasyManua.ls Logo

BGH BMPE36CTL - Page 24

BGH BMPE36CTL
32 pages
Print Icon
To Next Page IconTo Next Page
To Next Page IconTo Next Page
To Previous Page IconTo Previous Page
To Previous Page IconTo Previous Page
Loading...
24
1. To avoid the electrical shock, please connect the air conditioner with the ground lug.
e main power plug in the air conditioner has been joined with the ground wiring, please
don’t change it freely.
2. e power socket is used as the air conditioner specially.
3. Don’t pull the power wiring hard.
4. When connecting the air conditioner with the ground, observe the local codes.
5. If necessary, use the power fuse or the circuit, breaker or the corresponding scale ampere.
Suggestion
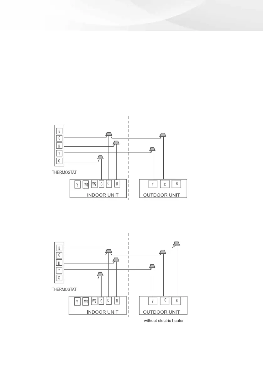
ermostat choose KJR-23B or Non-programmed eletrical thermostat series of Honeywell, such
as TH 5220D. Wiring please refer to the Owner’s Manual of the thermostat.
Suggestion
ermostat choose KJR-25B or Non-programmed eletrical thermostat series of Honeywell, such
as TH 5220D. Broken lines means H/P system with electric heating.
Wiring please refer to the Owner’s Manual of the thermostat.
Fig 7 Control Wiring for
A/C systems without
electric heater
Fig 8 Control Wiring for
H/P systems without
electric heate