EasyManua.ls Logo

Bio Bronpi HYDROBOX - Submenú 4.3. Programa Semanal; Submenú 4.4. Programa Fin de Semana; Menú 5. Carga Sinfín Manual

Bio Bronpi HYDROBOX
Print Icon
To Next Page IconTo Next Page
To Next Page IconTo Next Page
To Previous Page IconTo Previous Page
To Previous Page IconTo Previous Page
Loading...
27
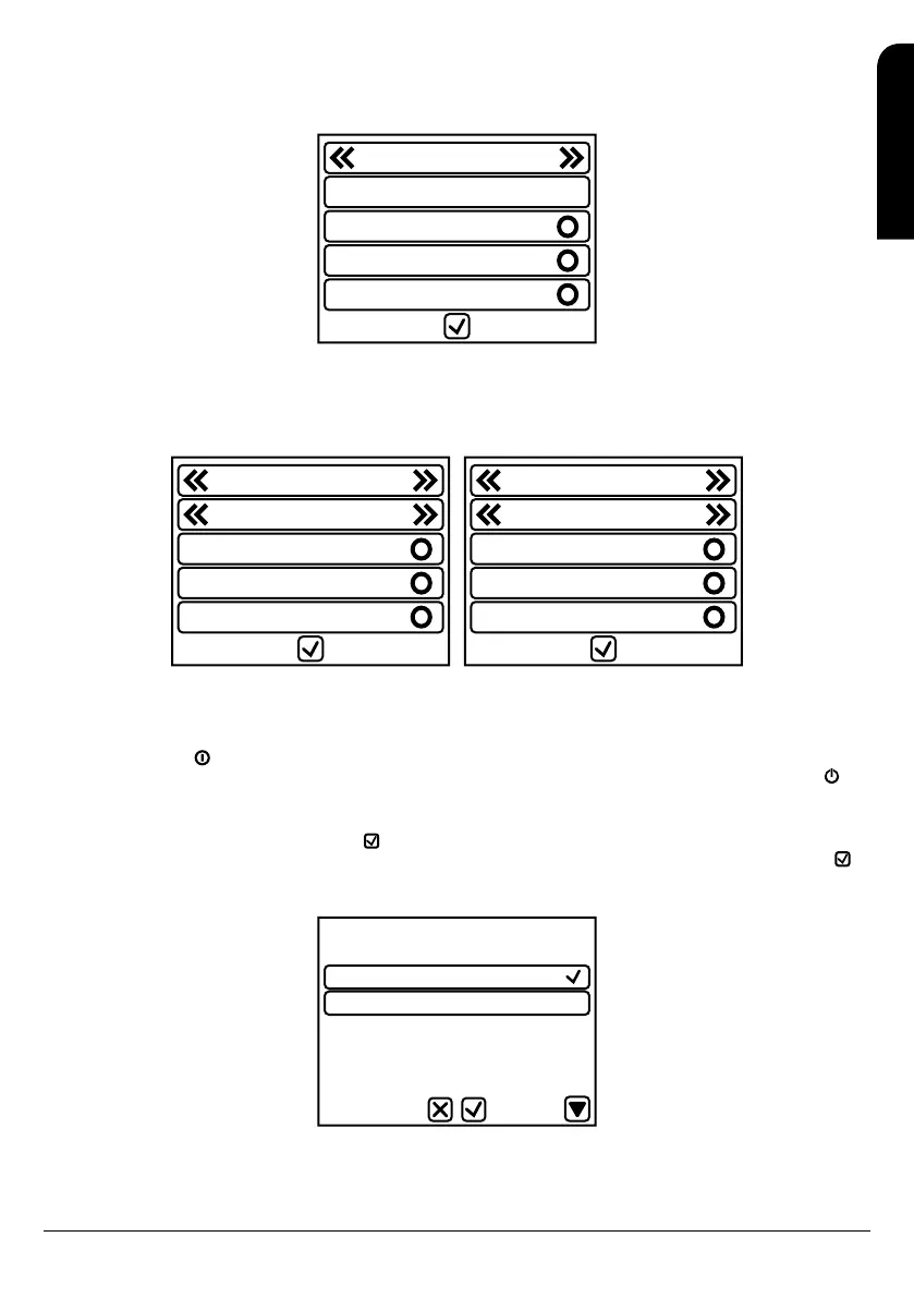
9.8.4.4. SUBMENÚ 4.3. PROGRAMA SEMANAL
En este programa puede elegir tres posibles horas de encendido y tres posibles horas de apagado para los 7 días de la semana, es decir,
de lunes a domingo, pero obedecerá los 7 días de la semana. Puede elegir un solo intervalo de funcionamiento, dos o incluso los tres
intervalos horarios para los 7 días de la semana.
Semanal
Lunes-Domingo
Tiempo 1 00:00 00:00
Tiempo 2 00:45 02:00
Tiempo 3 00:00 00:00
9.8.4.5. SUBMENÚ 4.4. PROGRAMA FIN DE SEMANA
Dispone de 3 posibles horas de encendido y tres posibles horas de apagado de la estufa para los días lunes, martes, miércoles jueves
y viernes. Y otras 3 diferentes posibles horas de encendido y apagado, solamente para los sábados y domingos. Puede elegir un solo
intervalo de funcionamiento, dos o incluso los tres intervalos horarios para cada día.
Fin Semana
Lunes-Viernes
Tiempo 1 00:00 00:00
Tiempo 2 00:00 00:00
Tiempo 3 00:00 00:00
Fin Semana
Sabado-Domingo
Tiempo 1 00:00 00:00
Tiempo 2 00:00 00:00
Tiempo 3 00:00 00:00
9.8.5. MENÚ 5. CARGA SINFÍN MANUAL
En el caso de que la caldera, durante su funcionamiento se quede sin combustible, le aparecerá la alarma Er18 “falta combustible” ya que
su caldera posee un sensor de capacidad para detectar la presencia de combustible en el depósito (tolva). Para desactivar la alarma, es
preciso presionar la tecla al menos 3 segundos, y la caldera pasará al estado de parado.
Para iniciar un nuevo encendido, es preciso rellenar el deposito de combustible antes de pulsar el botón de encendido de la caldera , de
lo contrario su caldera no le mostrará ninguna alarma, pero no permitirá el encendido de la misma.
No obstante, es posible estando la caldera apagada y fría así como con la puerta cerrada, efectuar una precarga de pellet durante un
tiempo máximo de 600 segundos, para cargar el sinfín. Para iniciar la carga, visualice en la pantalla el submenú “carga sinfín manual”, tras
acceder a él elija la opción ON y confirme con la tecla , automáticamente empezara a moverse el sinfín, observará como por seguridad se
pone en marcha el extractor de humos mientras dura la carga. Para interrumpir la carga, bastará con pulsar la línea Off y confirma con .
No olvide antes de proceder al nuevo encendido de la caldera, proceder a vaciar totalmente el quemador de pellet, para evitar así una
situación de peligro.
Carga Sinfín Manual
OFF
ON
ES
INSTRUCCIONES DE INSTALACIÓN, USO Y MANTENIMIENTO HYDROBOX, HYDROTEX E HYDROCONFORT

Table of Contents