EasyManua.ls Logo

Bio Bronpi HYDROBOX - Page 89

Bio Bronpi HYDROBOX
Print Icon
To Next Page IconTo Next Page
To Next Page IconTo Next Page
To Previous Page IconTo Previous Page
To Previous Page IconTo Previous Page
Loading...
88
11:24
21º
Er.01
65º C
2
1
Arrêt
Mercredi 11 Septembre
Crono
Désactivée
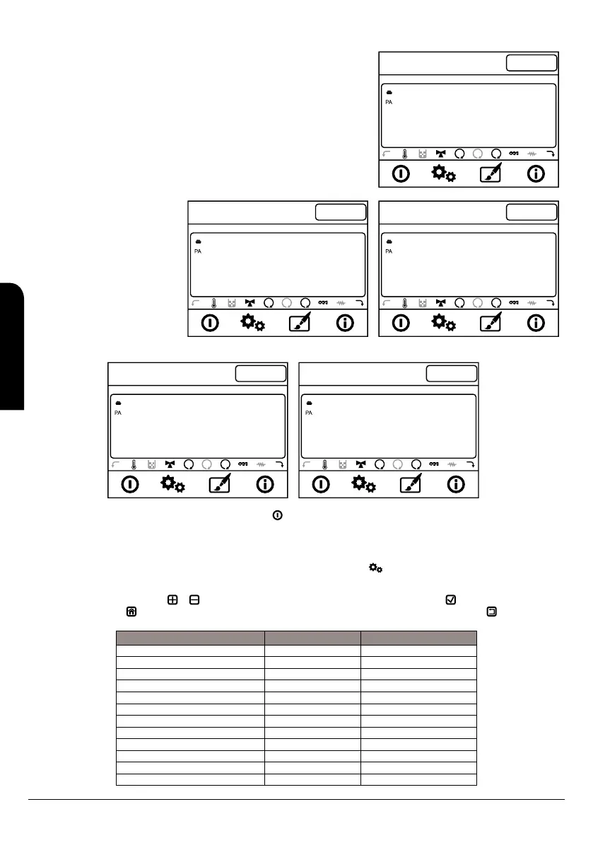
9.7.10. CHAUDIÈRE ÉTEINTE
Le dessin suivant montre l’information du display lorsque la chaudière se trouve éteinte.
11:24
21º
Er.01
65º C
2
1
Er 05
Mercredi 11 Septembre
Crono
Désactivée
11:24
21º
Er.01
65º C
2
1
Extinction
Mercredi 11 Septembre
Crono
Désactivée
9.7.11. CHAUDIÈRE EN
ALARME
Lorsque la chaudière entre en état
d’alarme, vous verrez l’alternance des
écrans suivants qui montrent que la
chaudière démarre le processus de
refroidissement.
Une fois refroidie, les écrans suivants
apparaissent.
11:24
21º
Er.01
65º C
2
1
Er 05
Mercredi 11 Septembre
Crono
Désactivée
11:24
21º
Er.01
65º C
2
1
Blocage
Mercredi 11 Septembre
Crono
Désactivée
Pour débloquer la chaudière, vous devez appuyer sur le bouton (rouge) pendant 3 secondes, puis vous allez pouvoir à nouveau procéder
à l’allumage de la chaudière. Note: Il y a des alarmes qui nécessitent une intervention du Service Technique pour le déblocage.
9.8. MENU UTILISATEUR 1
Pour accéder au menu d’utilisateur 1, il est nécessaire d’appuyer une seule fois la touche du display.
Le tableau suivant décrit la structure du menu d’utilisateur 1 de la chaudière. Vous pouvez voir aussi les options disponibles pour l’utilisateur.
Pour sélectionner les menus, il faut appuyer sur chaque ligne (menu) et accéder aux divers sous-menu disponibles. Pour modifier les valeurs,
vous devez appuyer sur les touches et pour augmenter ou réduire et confirmer la valeur avec la touche . Pour sortir du sous-menu, il
est nécessaire d’appuyer pour retourner à l’écran principal ou retourner au menu antérieur en appuyant sur la touche .
Menú Sousmenu 1 Sousmenu 2
Gestión combustion Ventilador aux. Potencia 1, 2,3, 4, 5 y A
Calibración sinfin Valeur entre -7 et +7
Calibración ventilador Valeur entre -7 et +7
Gestión calefaccion Termostato caldera Valeur entre 40 et 80ºC
Termostato Puffer Valeur entre 40 et 55ºC
Verano-Invierno Été/Hivers
Radiocomando On/Off
Crono Habilitar crono
Habilitar diario
Habilitar semanal
Habilitar fin de semana
Carga sinfin manual On/Off
FR
INSTRUCTIONS D’INSTALLATION, D’UTILISATION ET D’ENTRETIEN HYDROBOX, HYDROTEX ET HYDROCONFORT

Table of Contents