EasyManua.ls Logo

Bizerba P220901037 - Overall View of Device

Bizerba P220901037
505 pages
Print Icon
To Next Page IconTo Next Page
To Next Page IconTo Next Page
To Previous Page IconTo Previous Page
To Previous Page IconTo Previous Page
Loading...
About the device Instruction manual GLM-I
28 38.019.129.001 en
2
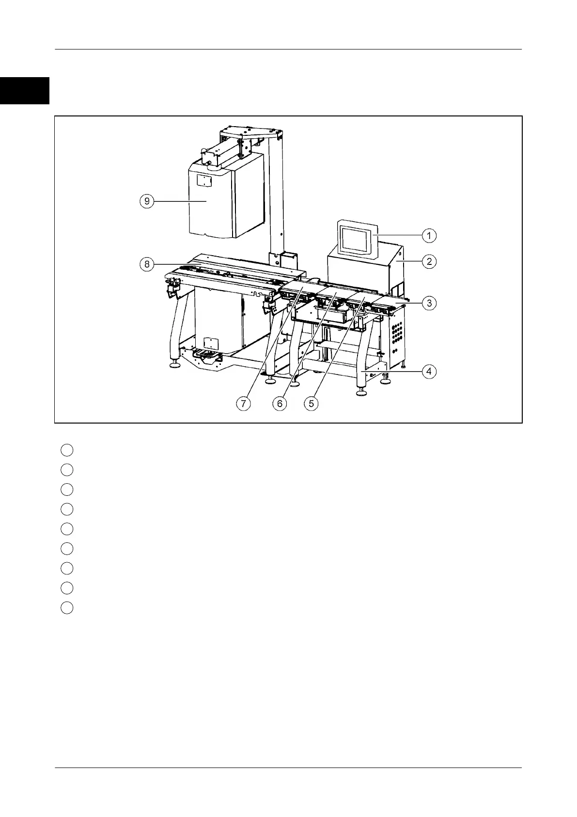
2.1 Overall view of device
The device is available in many different versions. Here is an example:
Illustration 1: Device view GLM-I xx
1
Display and operating unit
2
Switch cabinet
3
Infeed conveyor
4
Frame with foot screws for height adjustment
5
Indexing conveyor
6
Weighing conveyor
7
Runout belt
8
Labeling conveyor
9
Labeler

Table of Contents

Related product manuals