EasyManua.ls Logo

Black & Decker BDUR1 - Floor Brush Roller Cleaning and Reinstallation

Black & Decker BDUR1
21 pages
Print Icon
To Next Page IconTo Next Page
To Next Page IconTo Next Page
To Previous Page IconTo Previous Page
To Previous Page IconTo Previous Page
Loading...
18
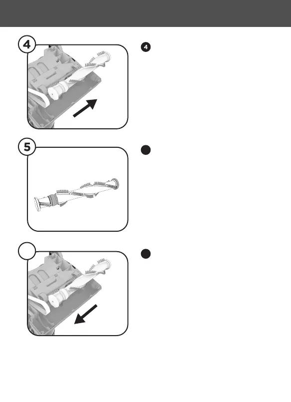
Remove all debris from the brush
bar roller.
Remove the brush bar roller from
the belt assembly by pulling the
belt towards you and sliding the
brush bar out.
Reinstall the brush bar roller by
inserting the left side of the roller
through the belt and into the roller
guides.
5
MAINTENANCE
NOTE: When the cleaning of the brush bar no longer restores vacuum cleaner
suction to full power, check for clogs or replace the lters.
6
6

Related product manuals