EasyManua.ls Logo

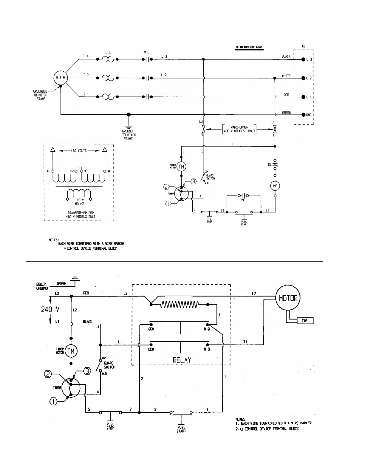
Blakeslee B-20 - Mixer Electrical Wiring Diagrams; 3 Phase Wiring Diagram; 1 Phase Wiring Diagram

Blakeslee B-20
37 pages
Print Icon
To Next Page IconTo Next Page
To Next Page IconTo Next Page
To Previous Page IconTo Previous Page
To Previous Page IconTo Previous Page
Loading...
WIRING DIAGRAM
SUPPLY
LINE
INPUT
3 PHASE
1 PHASE
-32-

Other manuals for Blakeslee B-20

Related product manuals