EasyManua.ls Logo

BLUE SKY IPN ProRemote - ADVANCED DISPLAY Menu

BLUE SKY IPN ProRemote
16 pages
Print Icon
To Next Page IconTo Next Page
To Next Page IconTo Next Page
To Previous Page IconTo Previous Page
To Previous Page IconTo Previous Page
Loading...
Installation and Operation Manual
Blue Sky Energy | USA | www.blueskyenergyinc.com 6
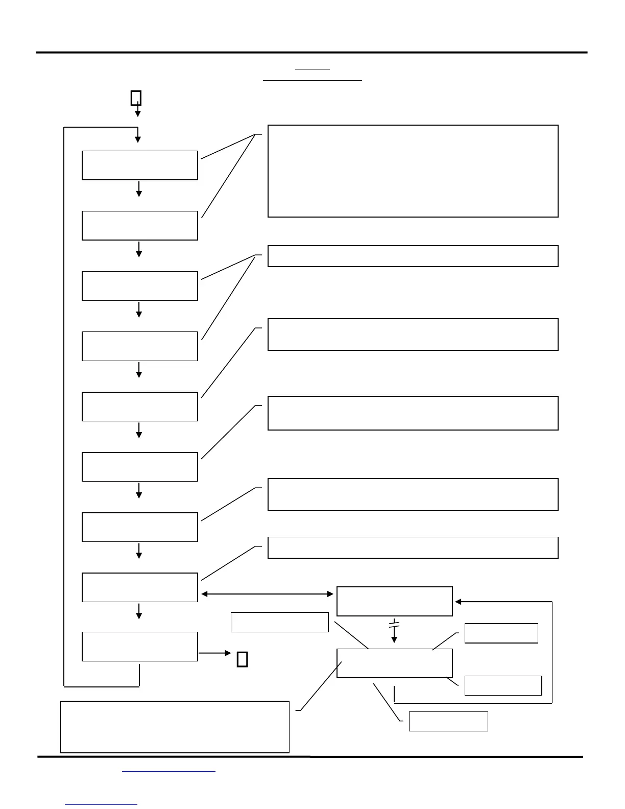
FIGURE 2
ADVANCED DISPLAY Menu
From Top menu
To Setup menus
if selected.
LAST FULL CHARGE
10 DAYS AGO
Days since last full charge or equalize. The equalize day counter resets
upon commencing equalize.
Day counter accuracy is +1 / -0 days as day counter transitions occur
following each 24 hour period from when battery power was applied.
Consider applying battery power late in the evening to improve counter
accuracy. Maximum range is 255 days which is also shown if days are
unknown.
LAST EQUALIZE
22 DAYS AGO
MAX BAT VOLTS
15.4V CLR
Captures minimum and maximum battery voltage since last cleared.
MIN BAT VOLTS
11.9V CLR
TOTAL CHG AMP-HR
+1980AH CLR
Captures total output amp-hours of all charge controllers on the IPN
network since last cleared.
LIFETIME BAT AH
-9876543AH CLR
Serves as battery “odometer” capturing total discharge amp-hours since
last cleared. Value saved to non-volatile memory once per day.
BAT TEMPERATURE
25C 77F
+1980AH CLR►
Shows present battery temperature if optional sensor installed on charge
controller.
ENTER SETUP
MENUS SEL
VIEW CHARGE UNIT
STATUS SEL
Selects status display of controllers on IPN network.
0 +25C OUT 12.3A
IN 17.5V 12.0A
7 +29C OUT 14.5A
IN 18.5V 15.0A
Controller address #0 7. NEXT scrolls through each
controller status screen. BACK returns to Advanced Display
menu. * Screen will be blank except for address if
controller not communicating on network.
Output current *
PV Input current *
PV Input voltage *
Internal temperature *

Related product manuals