EasyManua.ls Logo

BMM Heaters BMG - Page 15

Default Icon
42 pages
Print Icon
To Next Page IconTo Next Page
To Next Page IconTo Next Page
To Previous Page IconTo Previous Page
To Previous Page IconTo Previous Page
Loading...
15
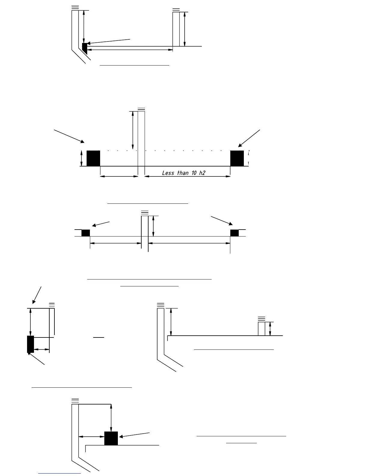
Not less
than 600
mm
Structure
Fig 11. Flat roof, with structure close
to flue outlet
Less
than
1500
mm
Fig 8. Flat roof, flue outlet more than 10 heights (h)
away from all structures
Less than
1500 m
m
Not less than
600 m
m
Parapet
Fig 9. Flat roof, with flue close to parapet
Fig 10. Flat roof, with no parapet
Not less
than
250 mm
Not less
than 600
Greater than 10 h
1
Greater than 10 h
2
h
2
250 mm
h
Structure
Structure
Fig 7. Flat roof, envelope method
Less than 10 h
2
Greater than 1500 mm
h
2
Structure
h
Structure
Not less
than
600 mm
Not less than
600 m
m
Parapet
Not less than
600 mm
Fig 6. Flat roof, with parapet