EasyManua.ls Logo

Bosch 830ES - 13 Interior Components Diagram and Parts List; Interior Components

Bosch 830ES
107 pages
Print Icon
To Next Page IconTo Next Page
To Next Page IconTo Next Page
To Previous Page IconTo Previous Page
To Previous Page IconTo Previous Page
Loading...
Interior components diagram and parts list | 51
6 720 644 887 (2013/02)C 1210 ES/ESC
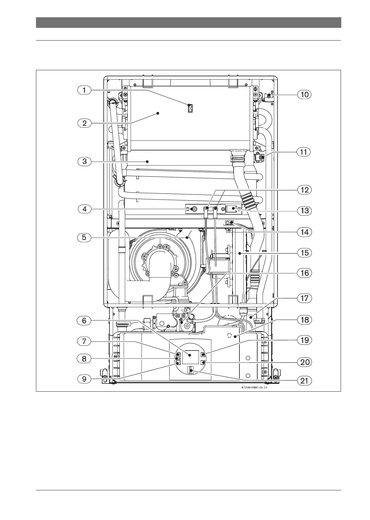
13 Interior components diagram and parts list
13.1 Interior components
Fig. 76 Components
[1] Exhaust temperature sensor
[2] Condensing heat exchanger
[3] Heat exchanger
[4] Ionization sensor
[5] Primary fan (Mixer)
[6] LCD display
[7] On/Off button
[8] Reset button
[9] Program key
[10] Flue gas limiter
[11] Heat exchanger overheat sensor (ECO)
[12] Ignition electrodes
[13] Observation window
[14] Backflow temperature sensor
[15] Secondary air fan
[16] Gas valve
[17] Condensate trap
[18] Control unit
[19] Up button
[20] Down button
[21] LED

Table of Contents

Other manuals for Bosch 830ES

Related product manuals