EasyManua.ls Logo

Bosch EP024 - Horizontal Dimensions

Bosch EP024
44 pages
Print Icon
To Next Page IconTo Next Page
To Next Page IconTo Next Page
To Previous Page IconTo Previous Page
To Previous Page IconTo Previous Page
Loading...
36 | Horizontal Dimensions EP Series
EP Series
8733953041 (2019/01)
Subject to change without prior notice
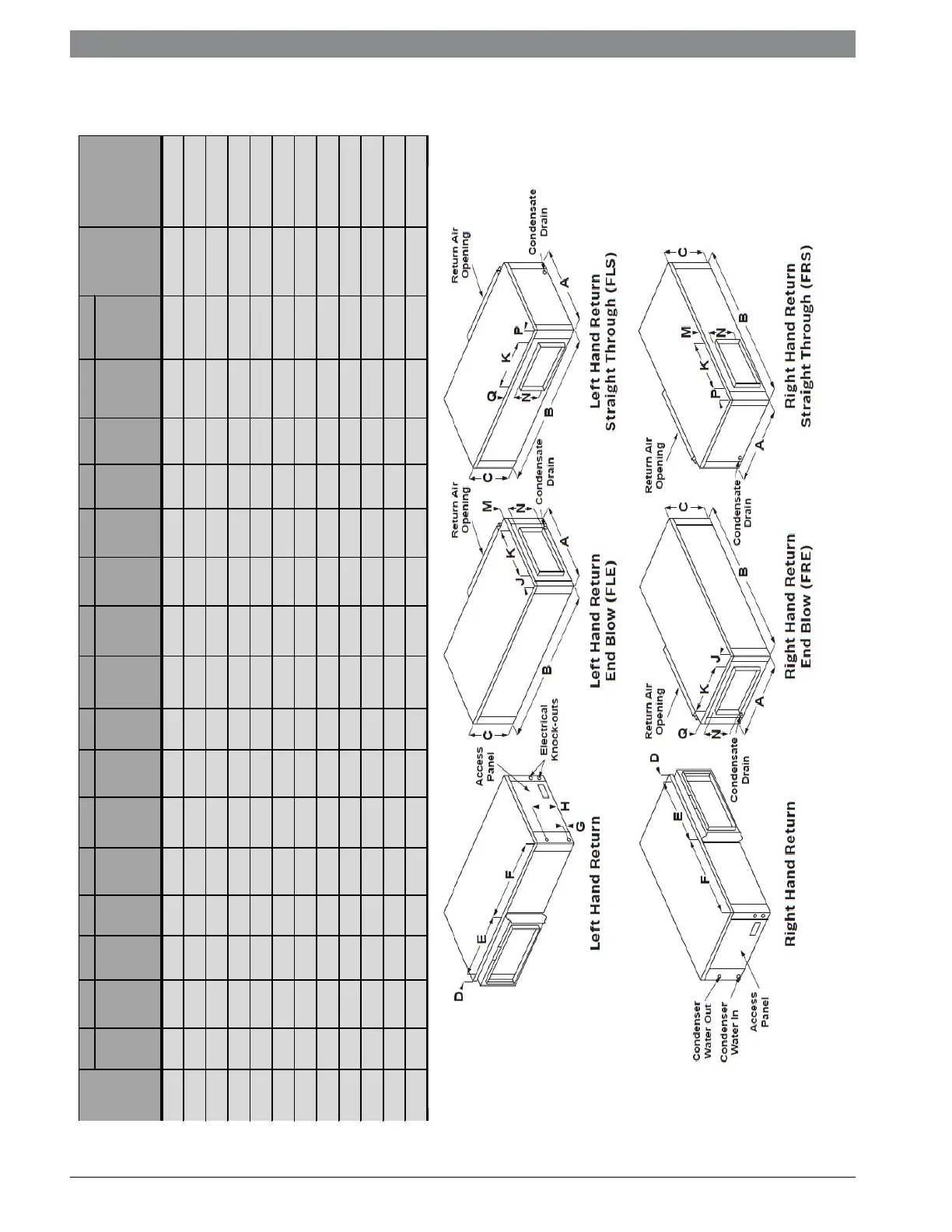
HORIZONTAL DIMENSIONS
AB CDE F GH J K M NPQ R T
Width Depth Height
Cab
End
to
Filter
R/A
Duct
Width
Cab
Front to
Filter
Rack
Water
In
Water
Out
Side to
Dischar
ge
Dischar
ge
Width
Top to
Discha
rge
(FLE &
Discha
rge
Height
End to
Disch
arge
Top to
Discha
rge
(FRE
Filter
Rack
Height
R/A
Duct
Flange
Height
EP007 21.75 43.25 16.75 0.50 20.25 22.25 2.25 13.87 3.50 11.75 4.62 7.75 3.50 4.62 15.00 13.00 3/4" FPT 15 x 20 x 1
EP009 21.75 43.25 16.75 0.50 20.25 22.25 2.25 13.87 3.50 11.75 4.62 7.75 3.50 4.62 15.00 13.00 3/4" FPT 15 x 20 x 1
EP012 22.25 45.25 19.75 0.62 20.25 24.25 2.50 12.50 3.62 11.75 7.12 7.75 3.62 4.75 18.00 16.00 3/4" FPT 18 x 20 x 1
EP015 22.25 45.25 19.75 1.62 20.25 23.25 2.50 12.50 2.75 13.75 3.12 13.75 2.75 2.87 18.00 16.00 3/4" FPT 18 x 20 x 1
EP018 22.25 45.25 19.75 1.62 20.25 23.25 2.50 12.50 2.75 13.75 3.12 13.75 2.75 2.87 18.00 16.00 3/4" FPT 18 x 20 x 1
EP024 26.25 54.75 22.00* 1.25 30.25 23.00 2.62 15.12 3.75 13.75 2.12 15.75 3.75 4.25 20.12 18.00 3/4" FPT 20 x 30 x 1
EP030 30.25 68.25 22.00* 2.00 35.00 31.25 2.50 13.25 4.50 15.75 4.00 15.75 4.50 2.25 20.12 18.00 1" FPT 20 x 34.5 x 1
EP036 30.25 68.25 22.00* 2.00 35.00 31.25 2.50 13.25 4.50 15.75 4.00 15.75 4.50 2.25 20.12 18.00
1" FPT 20 x 34.5 x 1
EP042 30.25 79.00 22.00* 0.75 48.25 29.62 2.75 13.25 4.50 17.75 2.25 17.75 4.50 2.12 20.12 18.00 1" FPT 20 x 24 x 1 (2)
EP048 30.25 79.00 22.00* 0.75 48.25 29.62 2.75 13.25 4.50 17.75 2.25 17.75 4.50 2.12 20.12 18.00 1" FPT 20 x 24 x 1 (2)
EP060 30.25 89.25 22.00* 1.87 56.25 31.00 2.62 13.25 4.50 17.75 2.25 17.75 4.50 2.12 20.12 18.00 1" FPT 20 x 28 x 1 (2)
EP070 30.25 89.25 22.00* 1.87 56.25 31.00 5.75 17.75 4.87 17.75 2.62 17.75 4.87 1.75 20.12 18.00 1" FPT 20 x 28 x 1 (2)
Recommended
Replacement
Nominal
Filter Size
Model
Condenser
Water
Connectio
ns

Related product manuals