EasyManua.ls Logo

Bosch FAS-420-TP2 - Page 35

Bosch FAS-420-TP2
128 pages
To Next Page IconTo Next Page
To Next Page IconTo Next Page
To Previous Page IconTo Previous Page
To Previous Page IconTo Previous Page
Loading...
Aspiration smoke detector LSN improved Planning | en 35
Bosch Sicherheitssysteme GmbH Operation guide 2020.04 | 6.1 | F.01U.029.275
I
FAS / FCS
FAS / FCS
FAS / FCS
U
U/U
FAS / FCS
M
FAS / FCS
4U
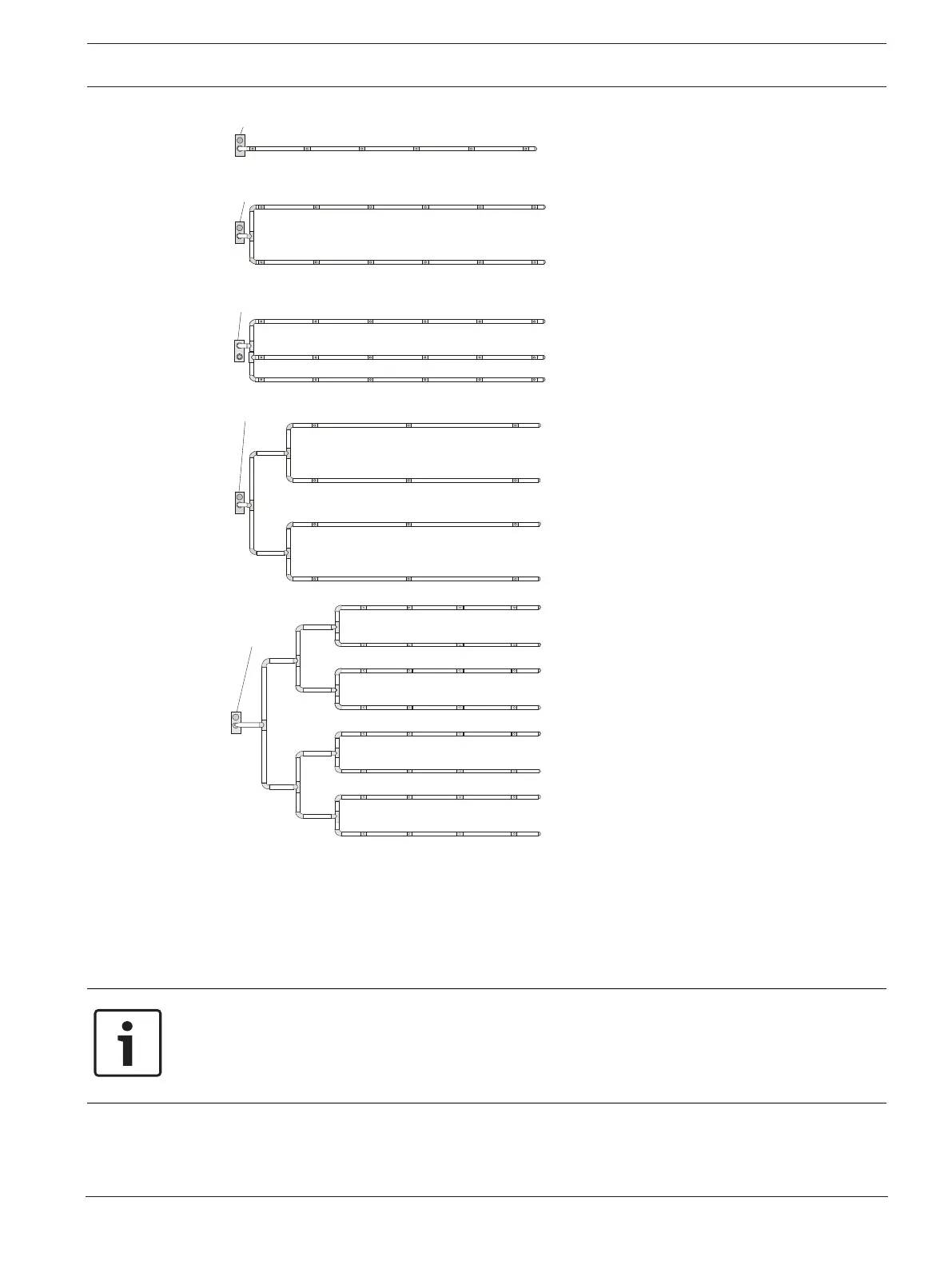
Pipe configurations
I I-pipe system
U U-pipe system
M M-pipe system
U/U Double U-pipe system
4U Quadruple U-pipe system
Change of direction
Elbows and bends in the pipe system increase flow resistance. Therefore, they should only be
used where they cannot be avoided for structural engineering reasons. Light change of
direction (e.g. with 90 ° pipe bends or air sampling hose) are already approved as part of the
project according to EN 54-20 or ISO 7240-20 and need not be considered further.
Notice!
Pipe bends must be given preference over pipe elbows. Too many bends and pipe elbows
reduce the air speed in the aspiration pipe, thereby increasing the detection time.
A 90° pipe elbow corresponds to a straight pipe length of 1.5m. Because of this, the
maximum total length of the pipe system is reduced by 1.5 m.
Special cases
If the pipe system does not correspond to the planning guidelines described here owing to
structural circumstances, it must be calculated separately for the case in question on request.

Table of Contents

Other manuals for Bosch FAS-420-TP2

Related product manuals