EasyManua.ls Logo

Bradley 233 - Page 38

Default Icon
40 pages
Print Icon
To Next Page IconTo Next Page
To Next Page IconTo Next Page
To Previous Page IconTo Previous Page
To Previous Page IconTo Previous Page
Loading...
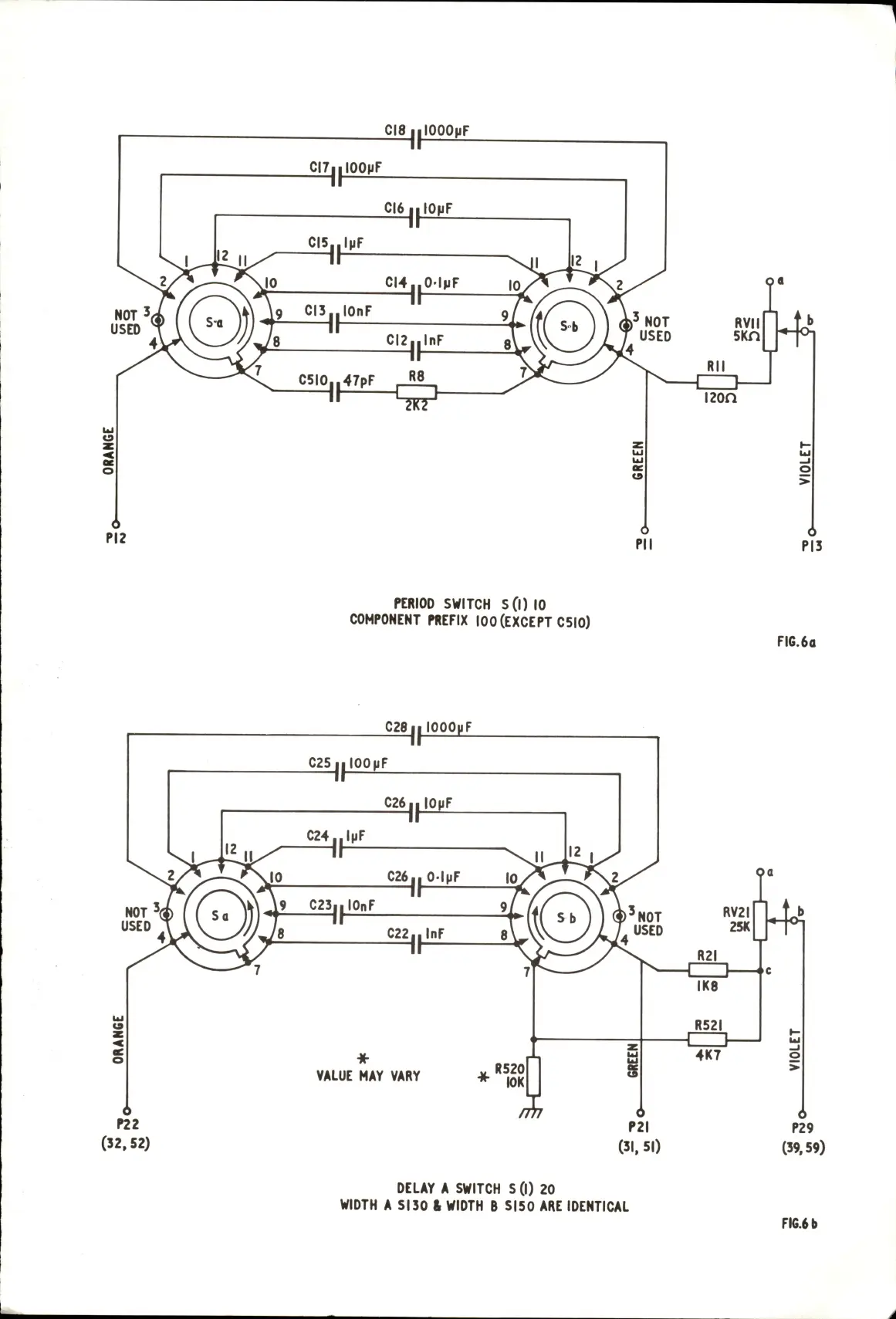
CISiiIOOOmF
CI7||IOOuF
CI6||IOuF
CI5,,luF
CI4,,0-ImF
10
0
CI3,,lOnF
CI2||lnF
NOT
3
USED
o
PI2
6
PI
I
1200
o
>
o
PI3
PERIOD
SWITCH
S(l)
10
COMPONENT
PREFIX
100
(EXCEPT
C5I0)
FIG.6a
Q
C28||
lOOOtiF
C2S||IOO>iF
C26|,
IOmF
C24,,ImF
NOT
3'
USED
9
C23,,IOnF
C26||
O-lpF
10
C22||lnF
P22
(32.52)
VALUE
MAY
VARY
R520
*
WK
DELAY
A
SWITCH
S
(I)
20
WIDTH
A
SI30
&
WIDTH
B
SI50
ARE
IDENTICAL
FIG.6b