EasyManua.ls Logo

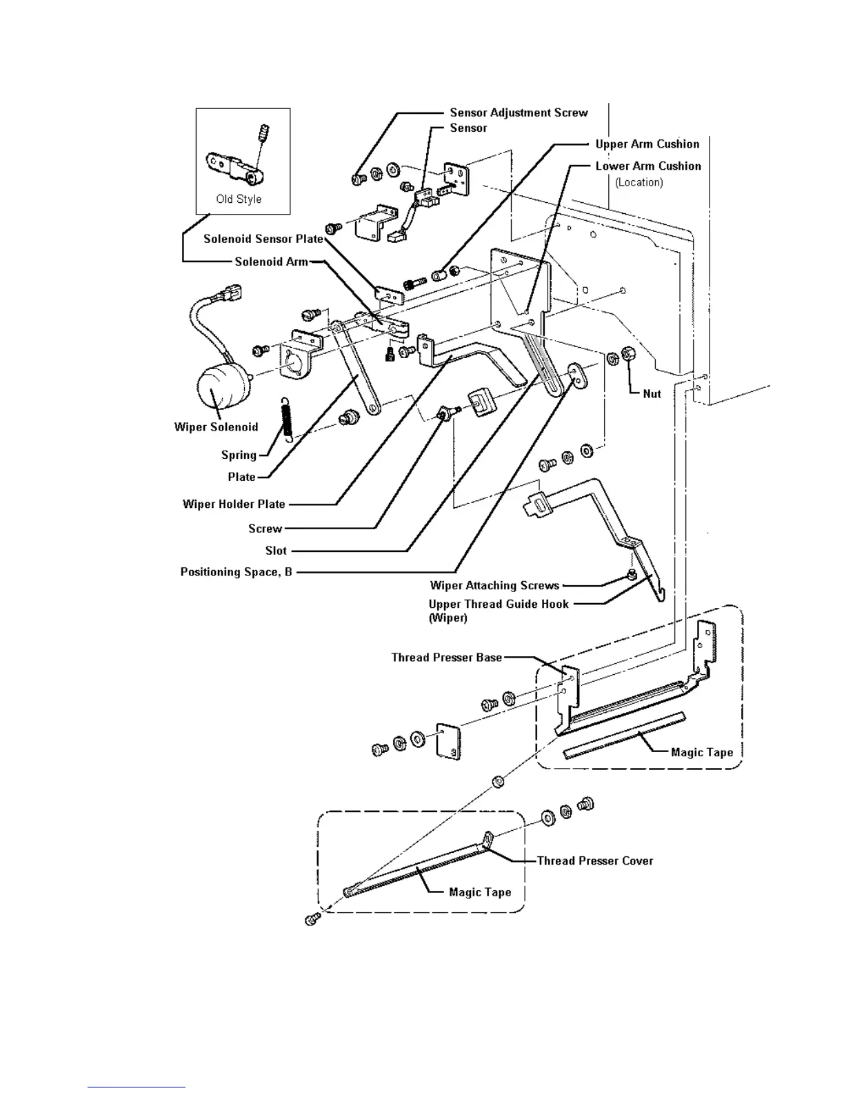
Brother BAS-416 - Wiper Assembly Parts Breakdown

Brother BAS-416
7 pages
Print Icon
To Next Page IconTo Next Page
To Next Page IconTo Next Page
To Previous Page IconTo Previous Page
To Previous Page IconTo Previous Page
Loading...
4
Wiper Assembly Parts Breakdown

Other manuals for Brother BAS-416

Related product manuals