EasyManua.ls Logo

Bryant 313AAV - Page 54

Bryant 313AAV
54 pages
Print Icon
To Previous Page IconTo Previous Page
To Previous Page IconTo Previous Page
Loading...
54
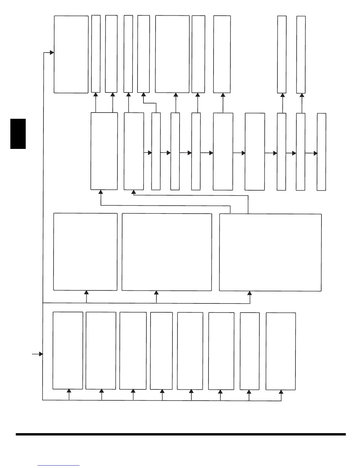
11 NO PREVIOUS CODE – Stored codes
are erased after 72 hours. On RED LED
boards stored status codes can also be
erased whenever power (115V or 24V)
is interrupted. Run system through a
heating or cooling cycle to check system.
12 BLO
WER ON AFTER POWER UP –
(115V OR 24V) – Normal operation.
Blower runs for 90 seconds, if unit is
powered up during a call for heat (R-W
closed) or when (R-W opens) during the
blower on-delay period.
13LIMIT CIRCUIT LOCKOUT – Lockout
occurs if the limit, draft safeguard, flame
rollout, or blocked vent sw
itch*(if used) is
open longer than 3 minutes. Control will
auto-reset after 3 hours. See code 33.
14 IGNITION LOCKOUT – System failed to
ignite gas and prove flame in 4 attempts.
Control will auto-reset after 3 hours.
See status code 34.
21 GAS HEATING LOCKOUT – Turn off
power and wait 5 minutes to retry.
Check for:
- Stuck closed gas valve relay on control.
- Miswire or short to gas valve wire.
22 ABNORMAL
FLAME-PROVING SIGNAL
Flame is proved wh
ile gas valve is de-
energized. Inducer will run until fault is
cleared. Check for:
- Stuck open or leaky gas valve.
23 PRESSURE SWITCH DID NOT OPEN
Check for:
- Obstructed pressure tube.
- Pressure switch stuck closed.
24SECONDARY VO
LTA
GE FUSE IS OPEN
Check for:
-Short circuit in
secondary voltage (24V)
wiring including thermostat leads.
Disconnect thermostat leads to
isolate
short ci rcuit.
31 PRESSURE SWITCH DID NOT CLOSE
OR REOPENED – If open longer than 5
minutes, inducer shuts off for 15 minutes
before retry. If opens during blower on-
delay period, blower will come on for the
selected blower off-delay. Check for:
- Proper vent sizing.
-Low inducer voltage (115V).
-Low inlet gas pressure (if LGPS used).
-Inadequate combustion air supply.
-D
isconnected or obstructed pressure
tubing.
- Defective inducer motor.
- Defective pressure switch.
-Excessive win
d.
-Restricted v
ent.
33 LIMIT CIRCUIT FAULT – Indicates the
limit, draft saf
eguard, flame rollout, or
blocked vent shutoff switch* (if used) is
open. Blower will run for 4 minutes or
until open switch remak
es whichever
is
longer. If ope
n longer than 3 minutes,
code changes to lockout #
13. If open
less than 3 min.
status code #33
continues to flash until blower shuts off.
Flame
rollout sw
itch and BVSS requires
manual reset. Check for:
-Dirty filter or restricted duct system.
-
Loose blower wheel.
- Defective switch or connections.
- Defective blower motor or capacitor.
-Inadequate combustion air supply
(flame rollout switch open).
- Restricted vent.
- Proper vent sizing.
-E
xcessive wind.
34 IGNITION
PR
OVING FAILURE – If flame
is not sensed during the trial for ignition
period, the control will repeat the ignition
sequence 3 more times before lockout
#14 occurs. If flame signal is lost during
the blower on-delay period, blower will
come on for the selected bl
ower off-del
ay.
Check the following items first before
proceeding to the next step.
-Gas valve turned off.
- Manual shut-off v
alve.
-Green/Ye l l o w wire MUST be connected
to furnace sheet metal.
- F
lame sensor must not be grounded.
To determine whether the problem is in
the gas
valve, igniter
, or flame sensor the
system can be operated in
the component
test mode to check the igniter. First
remove the R thermostat connection from
the control and initiate the component
test sequence. Does the igniter gl
ow
orange
/white by the end
of the 15 second
wa
rm
-up period?
Unplug igniter har
ness from control and initiate
another component test sequence. Check
for 115V between pin 1 and NEUTRAL-L2 on
the control. Was 115V present for the 15
second period?
Reconnect the R thermostat lead and set
thermostat to c
all for heat. Connect voltmeter
across gas va
l
ve
connections. Does gas va
lve
receive 24V?
Does gas valve open and allow gas to flow?
Do the main burners ignite?
Do the main burners stay on?
Repeat call for heat and check flame sensor
current during trial for ignition period. Is the
DC microamps below 0.5?
Is current near typical v
alue?
Will main burners ignite and stay on?
Fixed.
Clean flame sensor with fine steel wool and
recheck current. Nominal current is 4.0 to 6.0
microamps.
45CONTROL CIRCUITRY LOCKOUT
Auto-reset after 1 hour lockout due to:
- Flame circuit failure.
-Gas valve relay stuck open.
- Software check error.
Reset power to clear lockout. Replace
control if code repeats.
Replace furnace control.
Check for continuity i
n the harness
and
ignite
r.
Replace defectiv
e component.
Check connections. If OK, replace control
.
Check that all gas valves are turned on.
Replace valve.
Chec
k for:
-Inadequate flame carr
yover or rough
ignition.
-Low inlet gas pressure.
- Proper fir
ing rate
.
- Blocked or incorrect carry- over gap.
(.045ā€ nominal)
Allow blower to come on and repeat test to
check for intermittent operation.
Check connections and retry. If current is
near typical value (4.0-6.0 nominal) and
burners will not stay on, replace control.
Replace electrode.
Replace fur
nace control.
* Blocked vent shutoff switch used in Chimney Adapter Ki t
YES
YES
YES
YES
NO
YES
YES
YES
NO
YES
NO
NO
NO
YES
NO
NO
NO
NO
A05032
Manufacturer reserves the r ight to discontinue, or change at any time, specifications or designs without notice and without inc urring obligations.
E2008 Bryant Heating & Cooling Systems 7310 W. Morris St. Indianapolis, IN 46231 Printed in U.S.A. Edition Date: 10/08
Replaces: II313AAV---02
Catalog No. II313AA
V
--- 0 3
313A

Related product manuals