EasyManua.ls Logo

Bryant 340AAV - Page 44

Bryant 340AAV
60 pages
Print Icon
To Next Page IconTo Next Page
To Next Page IconTo Next Page
To Previous Page IconTo Previous Page
To Previous Page IconTo Previous Page
Loading...
-- 4 4 --
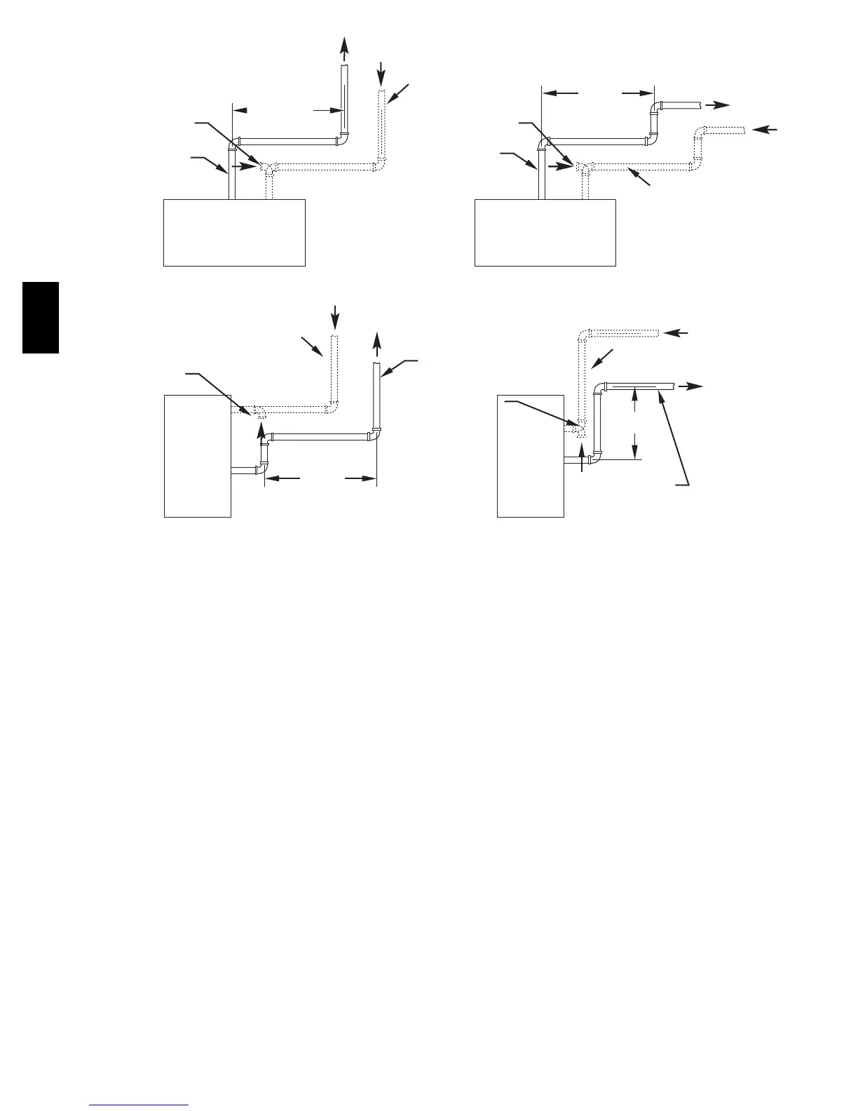
HORIZONTAL TO ROOF HORIZONTAL TO SIDEWALL
VERTICAL TO SIDEWALLVERTICAL TO ROOF
VENT PIPE
VENT PIPE
VENT PIPE
VENT PIPE
12 MIN
12 MIN
12 MIN
12 MIN
NOTE: A 12-in. (305 mm) minimum offset pipe section is recommended with
short (5-ft. to 8-ft (1.5 to 2.4 M)) vent systems. This recommendation is
to reduce excessive condensate droplets from exiting the vent pipe.
COMBUSTION AIR
PIPE (NON-DIRECT
VENT/1-PIPE)
COMBUSTION AIR
PIPE (DIRECT VENT
/2-PIPE)
COMBUSTION AIR
PIPE (NON-DIRECT
VENT/1-PIPE)
COMBUSTION AIR
PIPE (DIRECT
VENT/2-PIPE)
COMBUSTION AIR
PIPE (NON-DIRECT
VENT/1-PIPE)
COMBUSTION AIR
PIPE (DIRECT VENT
/2-PIPE)
COMBUSTION AIR
PIPE (NON-DIRECT
VENT/1-PIPE)
COMBUSTION AIR
PIPE (DIRECT VENT
/2-PIPE)
(305 mm)
(305 mm)
(305 mm)
(305 mm)
A05094
Fig. 41 -- Short Vent (5 to 8 ft) System
Attachment of Vent Extension Pipe
Furnaces with 100,000 Btuh and larger input are supplied with a
PVC vent extension pipe (2-in. (51 mm) diameter by 12-in. (305
mm) long). This pipe has a built-in channel to assist vent
condensate disposal. When this vent extension pipe is supplied, it
MUST be used to connect the field vent pipe to furnace inducer
housing on ALL upflow and downflow applications.
NOTE: See label on vent extension pipe for proper installation.
This pipe may be shortened if an elbow is used to connect vent
extension tube to field-installed vent pipe.
Installation GuidelinesforCombustionAirPipeand
Vent Pipe
It is recommended that all pipes be cut, prepared, and
pre-assembled before permanently cementing any joint.
1. Attach combustion air pipe and vent pipe per instructions
in sections “Combustion Air Pipe” and “Vent Pipe.”
2. Working from furnace to outside, cut pipe to required
length(s).
3. Deburr inside and outside of pipe.
4. Chamfer outside edge of pipe for better distribution of
primer and cement.
5. Clean and dry all surfaces to be joined.
6. Check dry fit of pipe and mark insertion depth on pipe.
7. After pipes have been cut and preassembled, apply
generous layer of cement primer to pipe fitting socket and
end of pipe to insertion mark. Quickly apply approved
cement to end of pipe and fitting socket (over primer).
Apply cement in a light, uniform coat on inside of socket
to prevent buildup of excess cement. Apply second coat.
8. While cement is still wet, twist pipe into socket with 1/4
turn. Be sure pipe is fully inserted into fitting socket.
9. Wipe excess cement from joint. A continuous bead of
cement will be visible around perimeter of a properly
made joint.
10. Handle pipe joints carefully until cement sets.
11. Horizontal portions of the venting system shall be
supportive to prevent sagging support. Support
combustion air piping (if applicable) and vent piping a
minimum of every 5 ft (1.5 M) (3 ft (0.9 M) for SDR--21
or --26 PVC) using perforated metal hanging strap.
12. Slope combustion air piping (if applicable) and vent piping
downward towards furnace a minimum of 1/4--in. (6 mm)
per linear ft with no sags between hangers.
13. Horizontal portions of the venting system shall be installed
so as to prevent the accumulation of condensate.
14. Use appropriate methods to seal openings where
combustion air pipe (if applicable) and vent pipe pass
through roof or sidewall.
340AAV

Other manuals for Bryant 340AAV

Related product manuals