EasyManua.ls Logo

Bryant 340AAV - Set Gas Input Rate; Orifice Size and Manifold Pressure Adjustment

Bryant 340AAV
60 pages
Print Icon
To Next Page IconTo Next Page
To Next Page IconTo Next Page
To Previous Page IconTo Previous Page
To Previous Page IconTo Previous Page
Loading...
-- 5 0 --
A99118
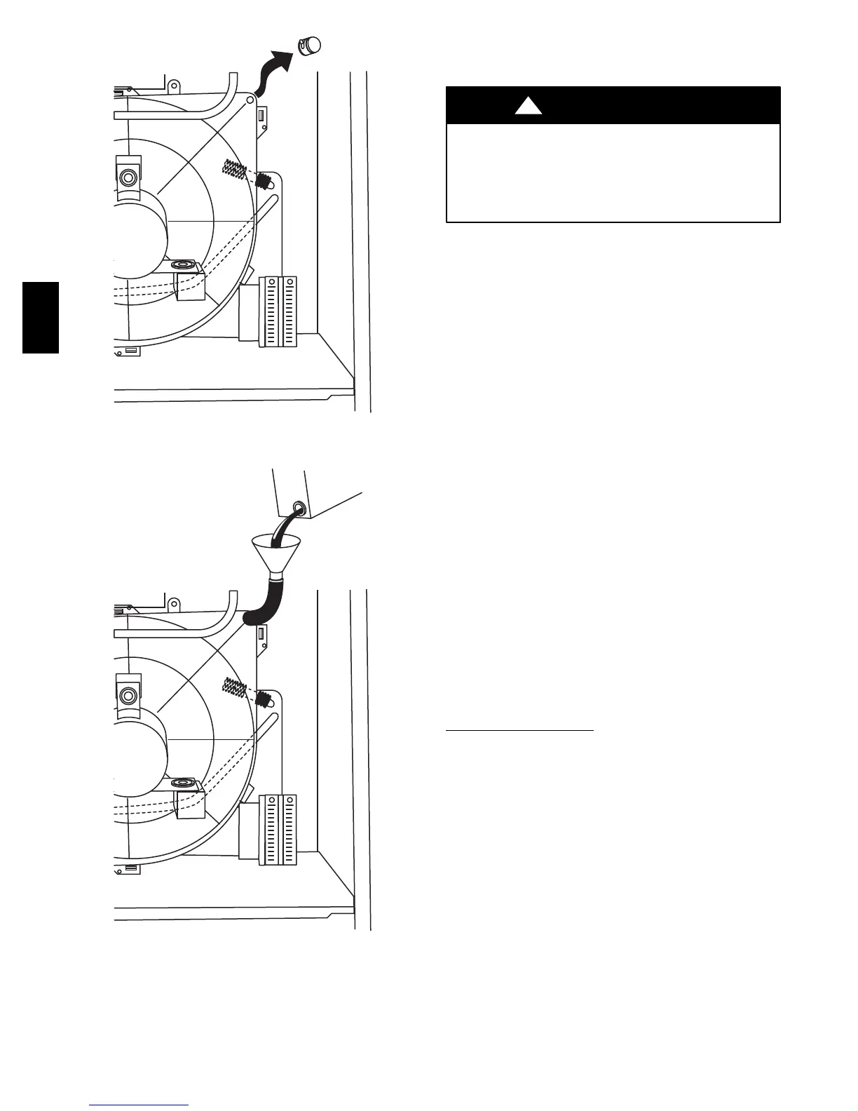
Fig. 46 -- Inducer Housing Drain Tube Cap
A99119
Fig. 47 -- Filling Condensate Trap
NOTE: Record the status code BEFORE opening the blower
access door and before shutting off power to the furnace.
Opening the blower access door will open the blower door switch
and shut off power within the furnace. When power to the furnace
is shut off by either method, the status code will be lost because
the code is not stored while power is removed for any reason.
To Begin Component Self-Test:
ELECTRICAL SHOCK HAZARD
Failure to follow this warning could result in electrical shock,
personal injury, or death.
Blower access panel door switch opens 115-v power to control
center. No component operation can occur. Caution must be
taken when manually closing this switch for service purposes.
!
WARNING
1. Remove blower access door.
2. Disconnect the thermostat R lead from furnace control.
3. Manually close blower door switch.
4. For approximately 2 sec, short (jumper) the C
OM-24v
terminal on control to the TEST/TWIN 3/16-in. (5 mm)
quick-connect terminal on control until the LED goes out.
Remove jumper from terminals. (See Fig. 34.)
NOTE: If TEST/TWIN and C
OM-24v terminals are jumpered
longer than 2 sec, LED will flash rapidly and ignore component
test request.
Component test sequence is as follows:
a. LED will display previous status code 4 times.
b. Inducer motor starts and continues to run until Step g
of component test sequence.
c. After 7 seconds the hot surface igniter is energized for
15 sec., then off.
d. Blower motor operates on Continuous-FAN speed for
10 sec.
e. Blower motor operates on HEAT speed for 10 sec.
f. Blower motor operates on COOL speed for 10 sec.
g. Inducer motor stops.
5. Reconnect R lead to furnace control, remove tape from
blower door switch, and re-install blower door.
6. Operate furnace per instruction on outer door.
7. Verify furnace shut down by lowering thermostat setting
below room temperature.
8. Verify that furnace restarts by raising thermostat setting
above room temperature.
Step 5 -- Adjustments
SETGASINPUTRATE
Furnace gas input rate on rating plate is for installations at
altitudes up to 2000 ft. (610 M).
In the U.S.A., the input ratings for altitudes above 2000 ft (610
M) must be reduced by 2 percent for each 1000 ft (305 M) above
sea level.
In Canada, the input ratings must be derated by 5 percent for
altitudes of 2000 ft to 4500 ft (610 to 1372 M) above sea level.
Furnace input rate must be within ±2 percent of input on furnace
rating plate adjusted for altitude.
1. Determine natural gas orifice size and manifold pressure
for correct input.
a. Obtain average yearly gas heat value (at installed
altitude) from local gas supplier.
b. Obtain average yearly gas specific gravity from local
gas supplier.
c. Verify furnace model. Table 14 can only be used for
model 340AAV furnaces with heating sizes of 040
through 120. Table 15 can only be used for model
340AAV furnaces with a heating size of 140.
340AAV

Other manuals for Bryant 340AAV

Related product manuals