EasyManua.ls Logo

Bryant 355BAV - Page 23

Bryant 355BAV
52 pages
Print Icon
To Next Page IconTo Next Page
To Next Page IconTo Next Page
To Previous Page IconTo Previous Page
To Previous Page IconTo Previous Page
Loading...
23
4. Determine the number of combustion air disk halves to be
installed in the combustion air intake housing. Insert perfor-
ated disk half or assembly (factory supplied in loose parts
bag) in intake housing where combustion--air intake pipe
will be connected.
5. Insert assembled combustion air inlet pipe into intake hous-
ingasshowninFig.25.
NOTE: Do not cement combustion air intake pipe permanently to
combustion air intake housing since it may be necessary to remove
pipe for service of igniter or flame sensor.
6. Drill a 1/8--in. (3 mm) hole in 2--in. (51 mm), combustion
air pipe using the hole in intake housing as a guide.
7. Install a field--supplied No. 6 or No. 8 sheet metal screw in-
to combustion air pipe.
8. Install casing hole filler cap (factory--supplied in loose parts
bag) in unused combustion air pipe casing hole.
COMBUSTION
AIR PIPE
BURNER
BOX
COMBUSTION AIR
INTAKE HOUSING
3/8" (10 mm) ID TUBE
TRAP
TO OPEN
DRAIN
3/16"
DRILL
4
(102 mm)
MIN
A93035
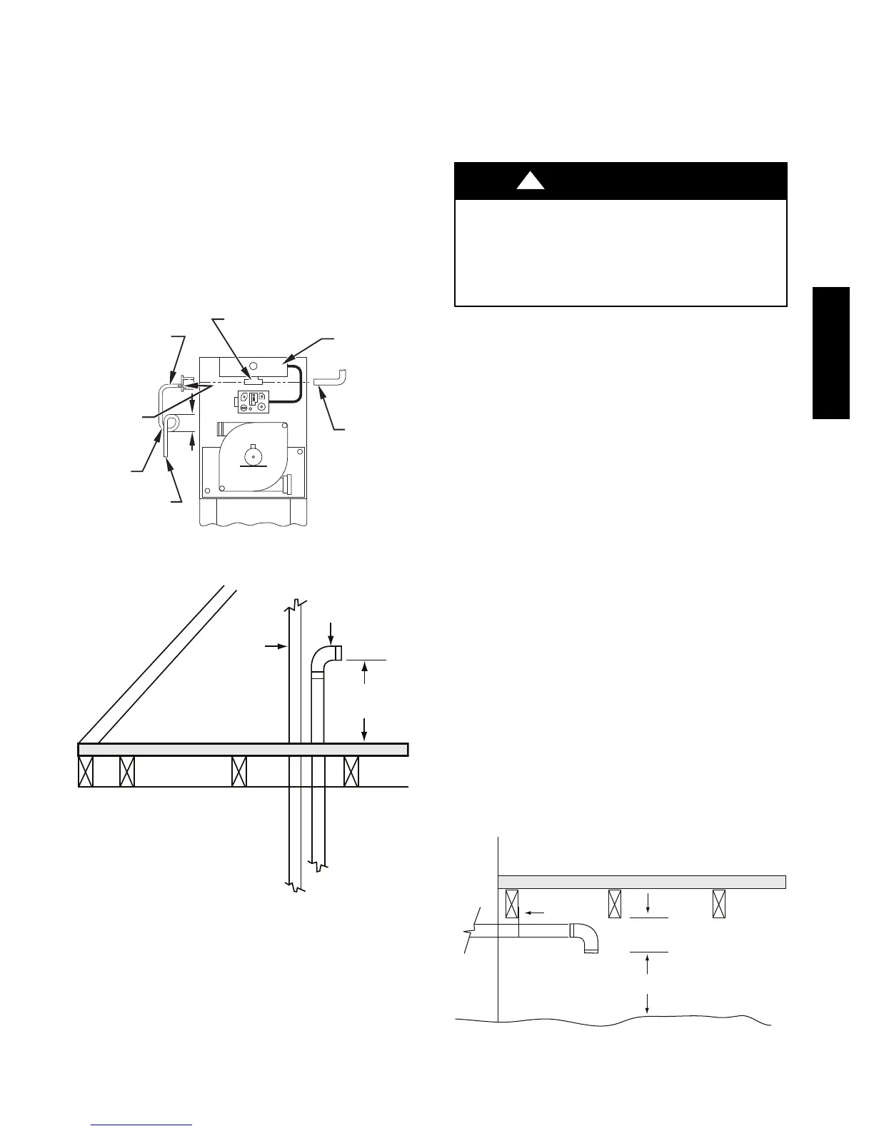
Fig. 26 -- Intake Housing Plug Fitting Drain
Ventilated
Combustion
Air intake pipe
12˝
Vent through
roof flashing
(305 mm)
A06497
Fig. 27 -- Attic Termination
Attachment of Combustion Air Intake Housing Plug Fitting
The combustion--air intake plug fitting must be installed in unused
combustion air intake housing. This fitting must be attached by
using RTV sealant, or by drilling a 1/8 in. (3 mm). hole in fitting,
using hole in intake housing as a guide. Install a field--supplied No.
6 or No. 8 sheet metal screw.
NOTE: DO NOT OVERTIGHTEN SCREW. Breakage of intake
housing or fitting may cause air leakage to occur.
A plugged drain connection has been provided on this fitting for
use when moisture is found in combustion air intake pipe and
combustion box.
If use of this drain connection is desired, drill out fittings tap plug
with 3/16 in. (5 mm). drill and connect a field--supplied 3/8 in. (10
mm). tube. This tube should be routed to open condensate drain for
furnace and A/C (if used), and should be trapped, as shown in Fig.
26.
UNIT DAMAGE HAZARD
Failure to follow this caution may result in unit component
damage.
Inducer housing outlet cap must be installed and fully
seated against inducer housing. Clamp must be tightened to
prevent any condensate leakage.
CAUTION
!
NOTE: (Direct Vent/2--Pipe System ONLY). Moisture in
combustion air intake may be a result of improper termination.
Ensure combustion air pipe termination is similar to those as
shown in Fig. 31 so that it will not be susceptible to area where
light snow or others sources of moisture could be pulled in.
Combustion Air Termination--Ventilated Combustion Air
Option
Combustion air is piped directly to the burner box on furnace using
the same materials used to vent the furnace. (See Table 5.) The
combustion air pipe is terminated in an attic or crawl space that is
well ventilated with outdoor air and is well isolated from the living
space or garage. If the furnace is installed in a well ventilated attic,
the combustion air pipe can be terminated in the same space. Refer
to the Air for Combustion and Ventilation -- Ventilated Combustion
Air Option Section in these instructions.
The combustion air pipe cannot be terminated in attics or
crawlspaces that use ventilation fans designed to operate during the
heating season. If ventilation fans are present in these areas, the
combustion air pipe must terminate outdoors as a Direct
Vent/2--Pipe system.
NOTE: Combustion air pipe must have the same diameter as vent
pipe.
Attic terminations require at least (1) 90 degree elbow, with the
open end pointing horizontally or downward. The open end of the
elbow must be at least 12 inches (305 mm) above any insulation or
other materials. Screen the elbow with a wire mesh screen no
smaller than 3/8 in. (10 mm) square. (See Fig. 27.)
Crawlspace termination requires the open end of the pipe pointing
downward. Maintain 3 inches of clearance below the floor joist
insulation and 12 inches (305 mm) above the grade. Screen the
elbow with a wire mesh screen no smaller than 3/8 in. (10 mm)
square. (See Fig. 28 and 29.)
12˝
Ventilated Combustion Air
intake termination in crawl
space
Pipe hanger
(76 mm)
(305 mm)
A06495
Fig. 28 -- Crawlspace Termination
355BAV

Other manuals for Bryant 355BAV

Related product manuals