EasyManua.ls Logo

Bryant 359AAV - Hot Surface Igniter Servicing

Bryant 359AAV
22 pages
Print Icon
To Next Page IconTo Next Page
To Next Page IconTo Next Page
To Previous Page IconTo Previous Page
To Previous Page IconTo Previous Page
Loading...
16
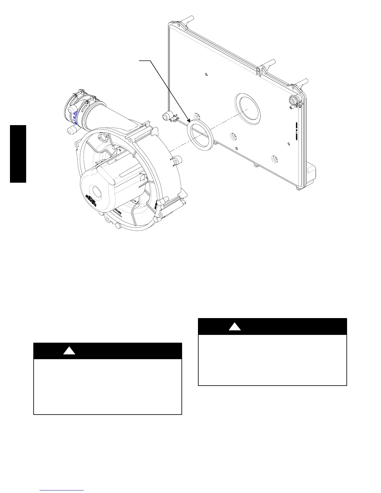
GASKET
A07828
Fig. 16 -- Gasket on Collector Box
4. Disconnect pressure switch tubes.
5. Disconnect vent pipe from inducer housing outlet by
loosening clamp.
6. Disconnect drain tube from inducer housing. (See Fig. 6 --
14.)
7. Remove inducer housing assembly by removing 4 bolts
attaching assembly to cell panel.
8. Flush inside of collector box with water until discharge
from condensate trap is clean and runs freely.
NOTE: Ensure that drain tube disconnected from inducer housing
is higher than collector box opening or water will flow out tube.
9. Inspect inside area of collector box for any pieces of foreign
materials and remove if present.
UNIT DAMAGE HAZARD
Failure to follow this caution may result in furnace component
damage.
DO NOT use wire brush or other sharp object to inspect or
dislodge materials in secondary heat exchangers as failure of
the secondary heat exchanger may occur. Flush with
water only.
CAUTION
!
10. Reassemble inducer assembly by reversing items 5 through
7. Tighten the vent coupling screw(s) to 15 in.--lb.
of torque.
NOTE: If gasket between inducer housing and collector box is
damaged in any way, it must be replaced. (See Fig. 16.)
11. Refer to furnace wiring diagram and connect wires to
inducer motor and pressure switch or connectors.
12. Reconnect pressure tubes to pressure switch. See diagram
on main furnace door for proper location of tubes. Be sure
tubes are not kinked. (See Fig. 6 -- 14.)
13. Turn on gas and electrical supplies to furnace.
14. Check furnace operation through 2 complete heat operating
cycles. Check area below inducer housing, vent pipe, and
condensate trap to ensure no condensate leaks occur. If leaks
are found, correct problem.
FIRE OR EXPLOSION HAZARD
Failure to follow the warnings could result in personal injury,
death, or property damage.
Never test for gas leaks with an open flame. Use a
commercially available soap solution made specifically for the
detection of leaks to check all connections.
!
WARNING
15. Check for gas leaks.
16. Replace main furnace door.
Procedure 6 S ervicing Hot Surface Igniter
The igniter does NOT require annual inspection. Check igniter
resistance before removal.
1. Turn off gas and electrical supplies to furnace.
2. Remove main furnace door.
3. Disconnect igniter wire connection.
359AAV

Related product manuals