EasyManua.ls Logo

Bryant 598B - Page 9

Bryant 598B
20 pages
Print Icon
To Next Page IconTo Next Page
To Next Page IconTo Next Page
To Previous Page IconTo Previous Page
To Previous Page IconTo Previous Page
Loading...
24 VAC HOT
FAN
HEAT STAGE 1
COOL STAGE 2
HEAT STAGE 2
COOL STAGE 1
R
G
W/W1
Y/Y2
O/W2
Y1/W2
R
G
24 VAC COMM
N/A
OUTDOOR
SENSOR
CONNECTION
C
B
S1
S2
C
Y2
C
PROGRAMMABLE
THERMOSTAT
MODEL 2S
TYPICAL
FAN COIL
TWO-SPEED
AIR CONDITIONER
See notes 6 and 8
W2
Y
E
R
W3
Y1
H
R1
A00386
A
C
A00388
O/W2
Y1/W2
W/W1
G
R
E
W3
THERMIDISTAT
CONTROL
TYPICAL
FAN COIL
TWO-SPEED
AIR CONDITIONER
W2
G
C
Y2
R
Y1
C
DHUM
HUM
B
S1
S2
Y
R
C
HEAT STAGE 2
HEAT STAGE 1
COOL STAGE 2
COOL STAGE 1
FAN
24 VAC HOT
24 VAC COMM
N/A
HUMIDIFY
N/A
OUTDOOR
SENSOR
CONNECTION
Y/Y2
HUMIDIFIER
(24 VAC)
OUTDOOR
SENSOR
See notes 8, 11, 12, and 16
24 VAC HOT
24 VAC COMM
HEAT STAGE 1
COOL STAGE 2
FAN
R
C
G
W/W1
Y/Y2
R
C
HEAT STAGE 2
COOL STAGE 1
N/A
OUTDOOR
SENSOR
CONNECTION
Y1
B
S1
S2
C
Y1
NON-PROGRAMMABLE
THERMOSTAT
MODEL 2S
TYPICAL
FAN COIL
TWO-SPEED
AIR CONDITIONER
See notes 8, 9, and 16
Y
G
O/W2
W2
R
Y2
E
W3
H
R1
A00387
B
R
C
C
Y1
TYPICAL
FAN COIL
TWO-SPEED
AIR CONDITIONER
See note 8
Y
G
W2
R
Y2
E
W3
H
R1
24 VAC HOT
24 VAC COM
HEAT STAGE 1
COOL STAGE 2
FAN
R
C
G
W
Y2
Y1
OTHER BRAND
TWO-SPEED
THERMOSTATS
COOL STAGE 1
A00055
D
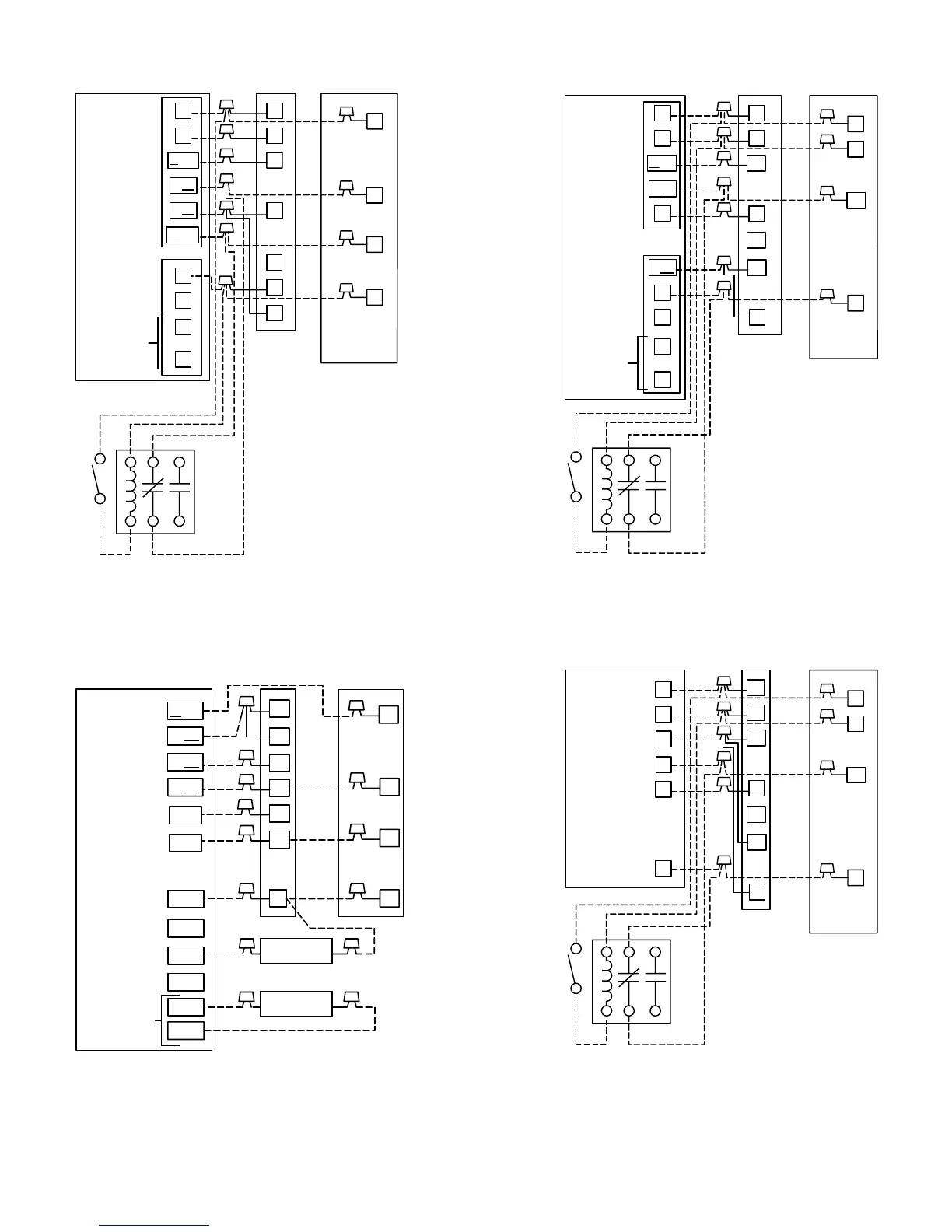
Fig. 9Typical Accessory Wiring Diagrams
9

Related product manuals