EasyManua.ls Logo

Bryant 800SA - Unit Damage Hazard; Electrical Shock Hazard; Cleaning Heat Exchanger

Bryant 800SA
40 pages
Print Icon
To Next Page IconTo Next Page
To Next Page IconTo Next Page
To Previous Page IconTo Previous Page
To Previous Page IconTo Previous Page
Loading...
800SA/801SA: Installation, Start–Up, Operating and Service and Maintenance Instructions
Manufacturer reserves the right to change, at any time, specifications and designs without notice and without obligations.
33
11. Verify that blower wheel is centered in blower housing and set
screw contacts the flat portion of the motor shaft. Loosen set screw
on blower wheel and reposition if necessary.
12. Spin the blower wheel by hand to verify that the wheel does not rub
on the housing.
13. Reinstall blower assembly in furnace.
14. Reinstall two screws securing blower assembly to blower deck.
15. Refer to furnace wiring diagram, and connect thermostat leads if
previously disconnected.
16. To check blower for proper rotation:
a. Turn on electrical supply.
b. Manually close blower access door switch.
NOTE: If thermostat terminals are jumpered at the time blower access
door switch is closed, blower will run for 90 sec before beginning a
heating or cooling cycle.
c. Perform component self-test as shown at the bottom of the
SERVICE label, located on the front of blower access door.
d. Verify blower is rotating in the correct direction.
17. If furnace is operating properly, RELEASE BLOWER ACCESS
DOOR SWITCH. Remove any jumpers or reconnect any
disconnected thermostat leads. Replace blower access door.
18. Downflow or horizontal furnaces with vent pipe through furnace
only:
a. Install and connect short piece of vent pipe inside furnace to
existing vent.
b. Connect vent connector to vent elbow.
19. Reinstall outer door.
20. Cycle furnace through one complete heating and cooling cycle.
Verify the furnace temperature rise as shown in “Adjustments”
Section. Adjust temperature rise as shown in “Adjustments”
Section. If outdoor temperature is below 70°F, (21°C) turn off
circuit breaker to outdoor unit before running furnace in the cooling
cycle. Turn outdoor circuit breaker on after completing cooling
cycle.
CLEANING HEAT EXCHANGER
The following steps should be performed by a qualified service agency:
NOTE: If the heat exchangers get a heavy accumulation of soot and
carbon, they should be replaced rather than trying to clean them
thoroughly. A heavy build-up of soot and carbon indicates that a
problem exists which needs to be corrected, such as improper adjustment
of manifold pressure, insufficient or poor quality combustion air,
incorrect size or damaged manifold orifice(s), improper gas, or a
restricted heat exchanger. Action must be taken to correct the problem.
If it becomes necessary to clean the heat exchangers because of dust or
corrosion, proceed as follows:
1. Turn OFF gas and electrical power to furnace.
2. Remove outer access door.
3. Disconnect vent connector from furnace vent elbow.
4. For downflow or horizontal furnace having an internal vent pipe,
remove internal vent pipe within the casing.
5. Disconnect wires to the following components. Mark wires to aid in
reconnection of (be careful when disconnecting wires from
switches because damage may occur):
a. Draft safeguard switch.
b. Inducer motor.
c. Pressure switch(es).
d. Limit over-temperature switch.
e. Gas valve.
f. Hot surface igniter.
g. Flame-sensing electrode.
h. Flame rollout switches.
6. Remove screws that fasten the collector box assembly to the cell
panel. Be careful not to damage the collector box. Inducer assembly
and elbow need not be removed from collector box.
7. Disconnect gas line from gas manifold.
8. Remove the 5 screws that attach the burner assembly to the cell
panel. The gas valve and individual burners need not be removed
from support assembly. Remove NOx baffles if installed.
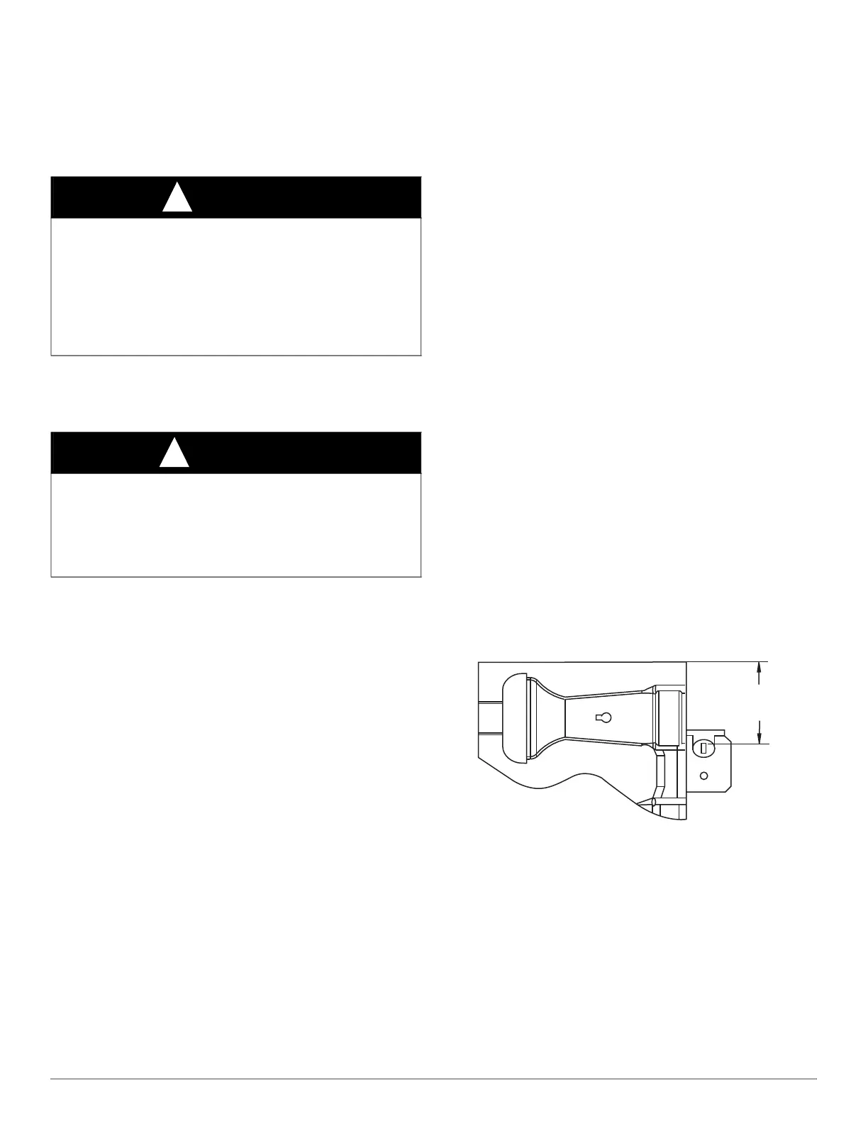
NOTE: Be very careful when removing burner assembly to avoid
breaking igniter. See Fig. 47 and Fig. 48 for correct igniter location.
A05026
Fig. 47 – Igniter Position-Top View
CAUTION
!
UNIT DAMAGE HAZARD
Failure to follow this caution may result in shortened heat exchanger
life.
Heating fan speed(s) MUST be adjusted to provide proper air
temperature rise as specified on the rating plate. Recommended
operation is at the midpoint of the rise range or slightly above. Refer to
“SET TEMPERATURE RISE” under START-UP, ADJUSTMENT, and
SAFETY CHECK.
WARNING
!
ELECTRICAL SHOCK HAZARD
Failure to follow this warning could result in personal injury, or death.
Blower access door switch opens 115-v power to furnace control. No
component operation can occur unless switch is closed. Exercise
caution to avoid electrical shock from exposed electrical components
when manually closing this switch for service purposes.
1-7/8
(47.6 mm)

Related product manuals