EasyManua.ls Logo

BSA WDM20 - The Electrical Equipment; The Wiring System

BSA WDM20
48 pages
Print Icon
To Next Page IconTo Next Page
To Next Page IconTo Next Page
To Previous Page IconTo Previous Page
To Previous Page IconTo Previous Page
Loading...
THE ELECTRICAL EQUIPMENT
THE WIRING SYSTEM
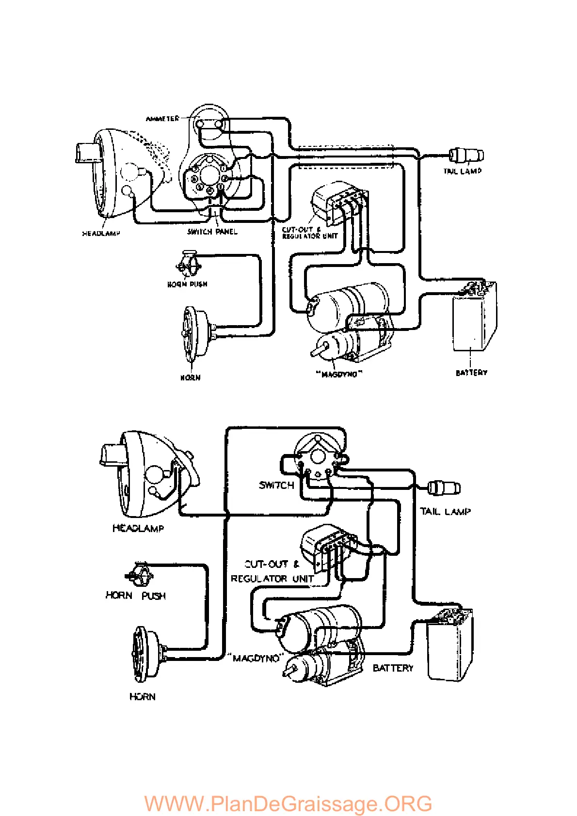
Fig 46A. Simple wiring diagram for models fitted with ammeter.
Fig 46B. Simple wiring diagram for models fitted without ammeter.
32
WWW.PlanDeGraissage.ORG

Related product manuals