EasyManua.ls Logo

Bunn CDBCF TC-DV - Warmer Assemblies

Bunn CDBCF TC-DV
37 pages
Print Icon
To Next Page IconTo Next Page
To Next Page IconTo Next Page
To Previous Page IconTo Previous Page
To Previous Page IconTo Previous Page
Loading...
26
CDBC-CEZ
Series
* Indicates the part number listed is OBSOLETE. ^ Indicates the part number listed is for reference only.
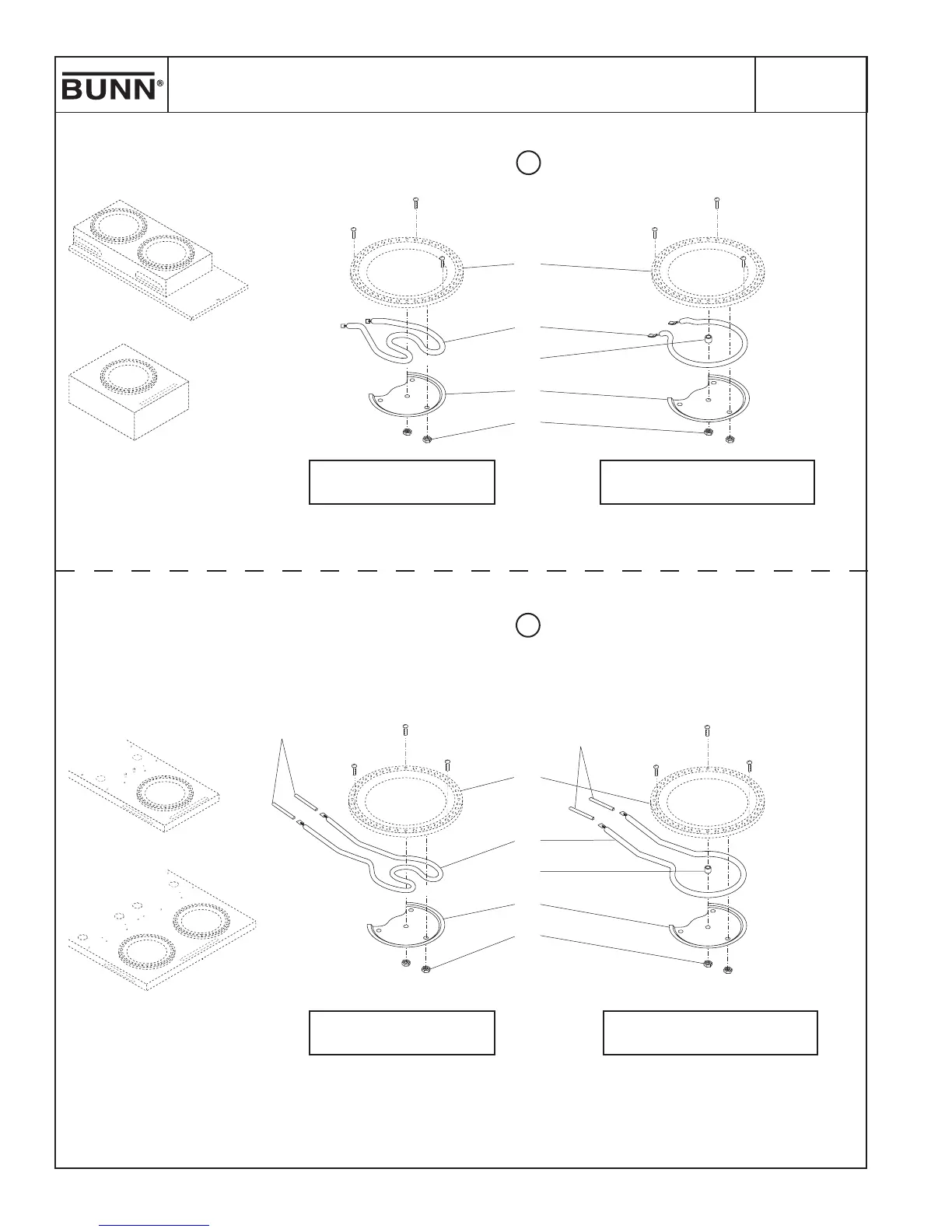
WARMER ASSEMBLIES
3
1
4
5
6
3
2
4
5
6
7
UPPER & SIDE HOUSING WARMERS
BASE WARMERS
7
‘A” &”B” MODELS ONLY
‘A” &”B” MODELS ONLY 120V & 120/240V MODELS ONLY
A
B
P3701.7
120V & 120/240V MODELS ONLY
39485 102006

Related product manuals