EasyManua.ls Logo

Burley Trailer - Page 23

Burley Trailer
24 pages
Print Icon
To Next Page IconTo Next Page
To Next Page IconTo Next Page
To Previous Page IconTo Previous Page
To Previous Page IconTo Previous Page
Loading...
23
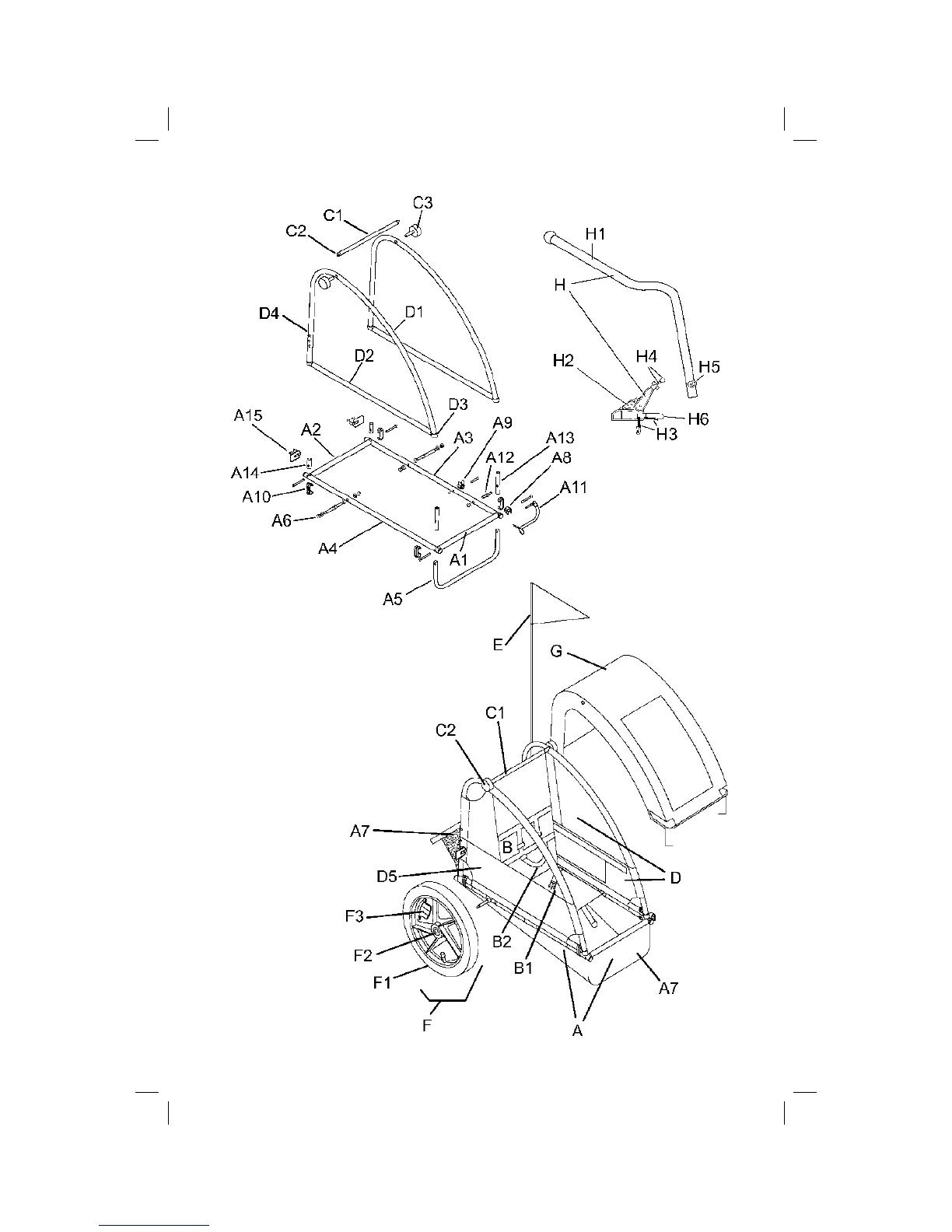
Your serial number is
located on the top of
the bag holder. Please
have your serial number
ready when re questing
replacement parts.

Related product manuals