EasyManua.ls Logo

Calomax Eclipse Series - Page 15

Calomax Eclipse Series
24 pages
Print Icon
To Next Page IconTo Next Page
To Next Page IconTo Next Page
To Previous Page IconTo Previous Page
To Previous Page IconTo Previous Page
Loading...
Page 15
1
2
4
3
7
8
5
13
20
18
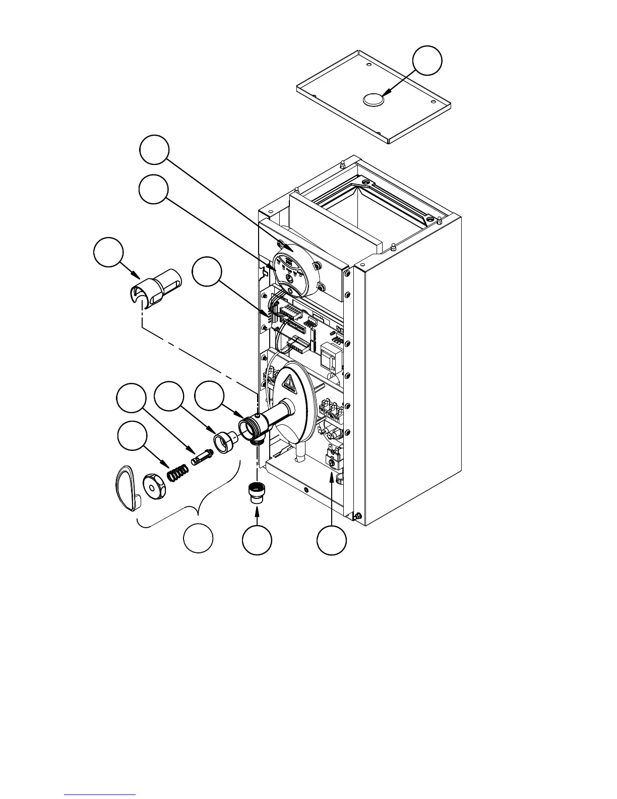
If parts required are not
identified, please contact
Calomax Limited
(behind cap)
9
10
(inside moulding)

Related product manuals