EasyManua.ls Logo

Calorex PPT22 - Empfohlenes Verrohrungsschema

Calorex PPT22
151 pages
Print Icon
To Next Page IconTo Next Page
To Next Page IconTo Next Page
To Previous Page IconTo Previous Page
To Previous Page IconTo Previous Page
Loading...
Seite 10
Calorex Heat Pumps Ltd. · The Causeway, Maldon, Essex CM9 4XD, UK
Installations- & Betriebsanleitung
PRO-PAC (PPT) 8/12/16/22 LX/LY
SLIMLINE
SD638150 ISSUE 11
®
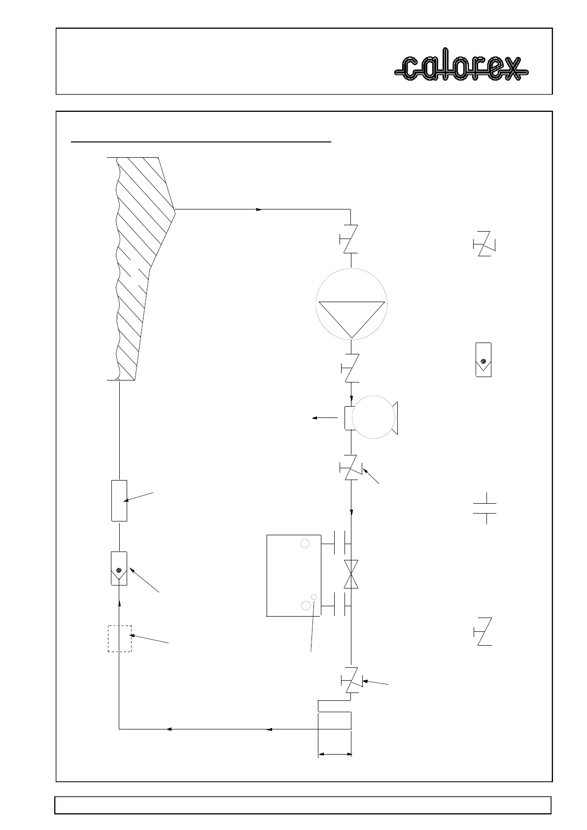
BECKEN
RÜCK-
SCHLAG-
VENTIL
DESINFEKTIONSMITTEL- BZW.
CHEMIKALIEN-
DOSIERUNGS-EINRICHTUNG;
FALLS VORHANDEN
ZUSATZHEIZUNG
FALLS
VORHANDEN
FILTER
PUMPE
ABLUSS FÜR
ENTLEERUNG IM
RAHMEN DES
WINTERFESTMACHENS
RÜCKSCHLAGSCHLEIFE
EINBAUEN FALLS CHEMIKALIEN
DOSIERUNG NACH DER WP
EINGEBAUT
100mm
KONDENSWASSER-
ABFLUSS
RESERVEZUGANG FÜR DAS
WINTER- FESTMACHEN DER
DURCHFLUSSVERBINDUNG
ABFLUSS
LEGENDE ABSPERRVENTIL TRENNBARER ANSCHLUSS R
ά
CKSCHLAGVENTIL DREIWEGEVENTIL
CALOREX
RMEPUMPE
BYPASSVENTILE
(OFFNER)
3.1 - EMPFOHLENES VERROHRUNGSSCHEMA

Table of Contents

Other manuals for Calorex PPT22

Related product manuals