EasyManua.ls Logo

Candy CDP 1LS39S - Description of the Control Panel; Technical Data

Candy CDP 1LS39S
Print Icon
To Next Page IconTo Next Page
To Next Page IconTo Next Page
To Previous Page IconTo Previous Page
To Previous Page IconTo Previous Page
Loading...
13
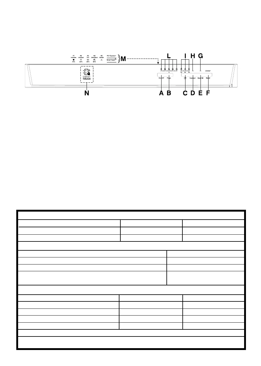
DESCRIPTION OF THE CONTROL PANEL
A "ON/OFF" button
B "PROGRAMME SELECTION" button
C "DELAY START" button
D "EXPRESS" option button
E "RESET" button for
"SALT EMPTY" light
F
"START"/"RESET" button
(start/cancelling programme)
G "SALT EMPTY" light
H "OPTION SELECTION" light
I "PROGRAMME STATUS" lights/
"DELAY START" time lights
L "PROGRAMME SELECTION" lights
M Programme guide
N SMART TOUCH area
DIMENSIONS
TECHNICAL DATA
CONSUMPTION (main programmes)*
Programme Energy (kWh) Water (L)
INTENSIVE
UNIVERSAL
ECO
ULTRA RAPID 29'
Width x Height x Depth (cm) 60 x 85 x 60
Depth with door open (cm) 120
EN 50242 place load
Capacity with pans and dishes
Water supply pressure (MPa)
Fuse / Power input / Supply voltage
8 persons
Min. 0,08 - Max. 0,8
See rating plate
Power consumption of the off-mode and of the left-on mode: 0,45 W / 0,45 W
*Values are measured in a laboratory according to European Standard EN 50242 (consumption may
vary according to conditions of usage).
59,8 x 82 x 57,3
117
With working top Without working top
2,08
1,53
1,04
0,73
20,5
14,5
12
9
13

Related product manuals