EasyManua.ls Logo

Candy CDP 6850 X - Descrizione Dei Comandi; Dati Tecnici

Candy CDP 6850 X
Print Icon
To Next Page IconTo Next Page
To Next Page IconTo Next Page
To Previous Page IconTo Previous Page
To Previous Page IconTo Previous Page
Loading...
3
Coperti (EN 50242)
Capacità con pentole e piatti
Pressione ammessa nell'impianto idraulico
Ampere fusibile
Potenza max assorbita
Tensione d’alimentazione
15
9 persone
Min. 0,08 - Max 0,8 MPa
(vedere targhetta dati)
(vedere targhetta dati)
(vedere targhetta dati)
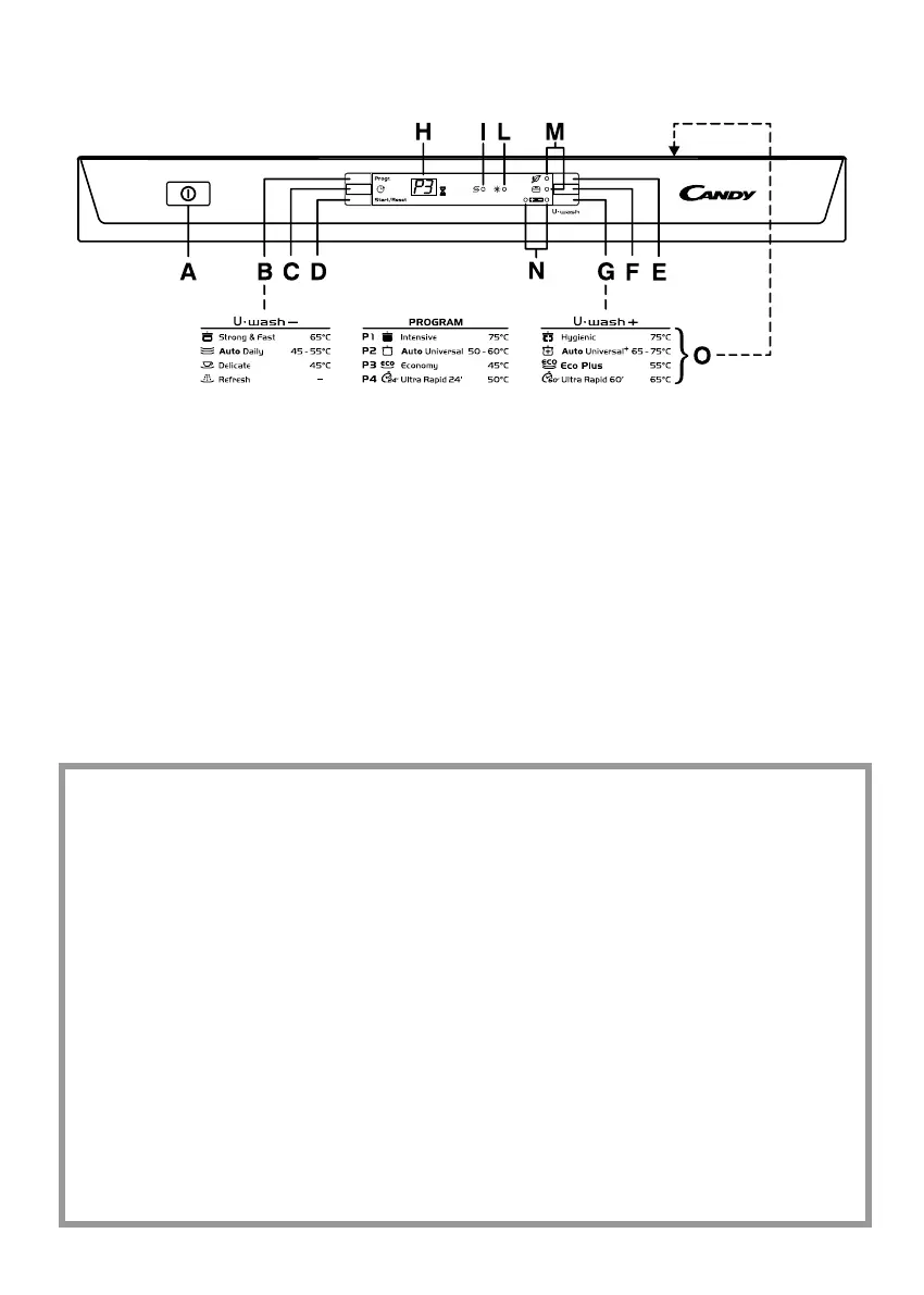
A Tasto "AVVIO/ARRESTO"
B Pulsante "SELEZIONE PROGRAMMA"
C
Pulsante
"
PARTENZA DIFFERITA
"
D
Pulsante "START"/"RESET"
(avvio/annullamento programma)
E Pulsante opzione "SUPER ECO"
F Pulsante opzione "ALL IN 1"
G Pulsante
"U WASH"
H Display digitale
I Spia "ESAURIMENTO SALE"
L Spia "ESAURIMENTO BRILLANTANTE"
M Spie "SELEZIONE OPZIONE"
N Spie
"U WASH"
O Legenda programmi
Altezza
Profondità
Larghezza
Ingombro con porta aperta
cm
cm
cm
cm
con piano lavoro
85
60
60
120
DESCRIZIONE DEI COMANDI
DATI TECNICI:
senza piano lavoro
82
57,3
59,8
117
DIMENSIONI:

Related product manuals