EasyManua.ls Logo

Candy CIES642MCTT - Panel de Mandos

Candy CIES642MCTT
295 pages
Print Icon
To Next Page IconTo Next Page
To Next Page IconTo Next Page
To Previous Page IconTo Previous Page
To Previous Page IconTo Previous Page
Loading...
ES-10
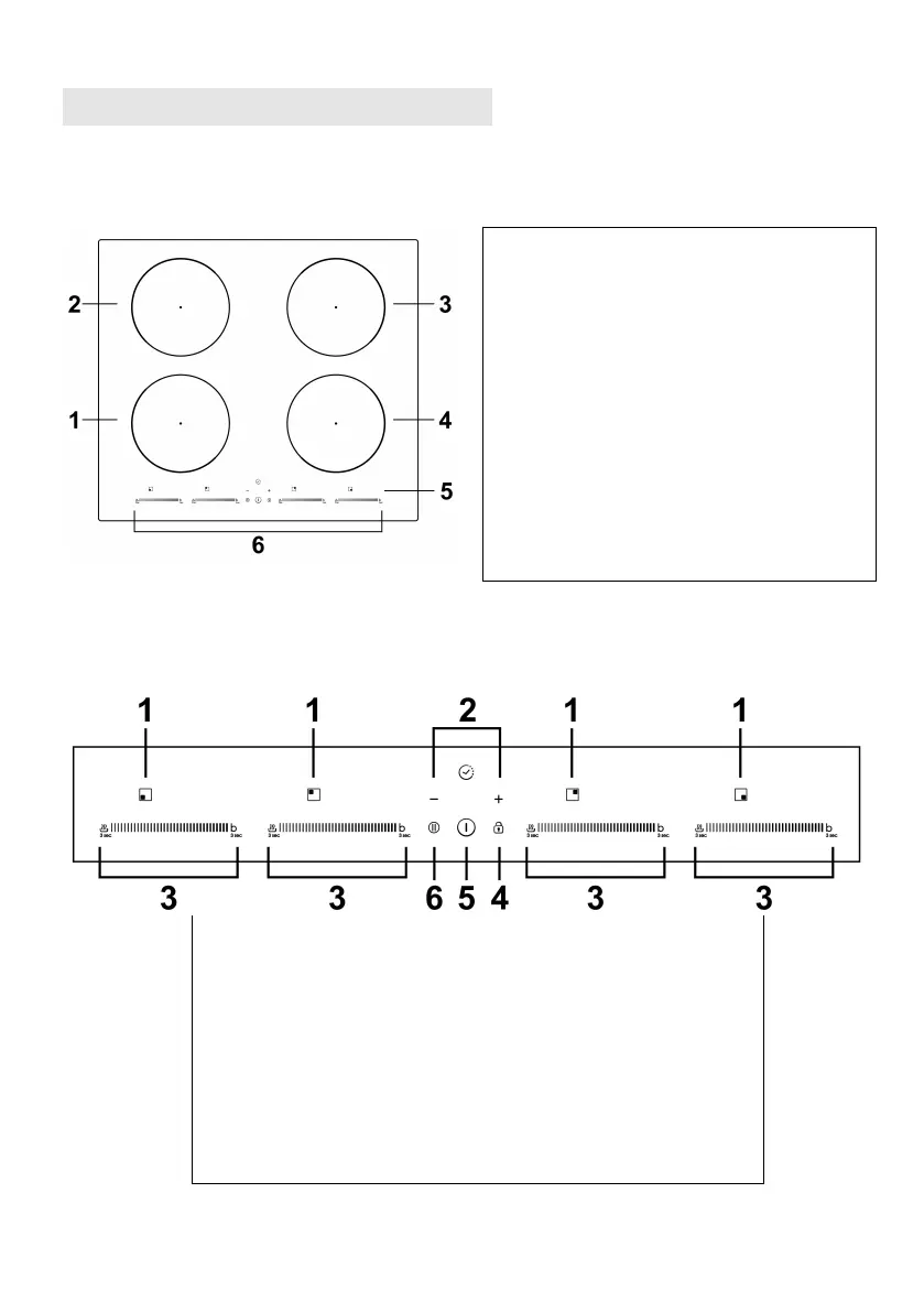
Descripción del producto
Vista superior
Modelo: CIS642MCTT
1. Zona de 2000 W, con potencia
extra hasta 2600 W
2. Zona de 1500 W, con potencia
extra hasta 2000 W
3. Zona de 2000 W, con potencia
extra hasta 2600 W
4. Zona de 1500 W, con potencia
extra hasta 2000 W
5. Placa de vidrio
6. Panel de mandos
Panel de mandos
1. Indicador de selección de zona de cocción
2. Mando del temporizador
3. Botón de regulación de potencia/mando de
potencia extra/mando para mantener caliente
4. Mando de bloqueo
5. Botón de encendido/apagado
6. Mando de pausa

Table of Contents

Related product manuals