EasyManua.ls Logo

Candy CIES642MCTT - Pregled Izdelka; Pogled Od Zgoraj; Upravljalna Plošča

Candy CIES642MCTT
295 pages
Print Icon
To Next Page IconTo Next Page
To Next Page IconTo Next Page
To Previous Page IconTo Previous Page
To Previous Page IconTo Previous Page
Loading...
SL-7
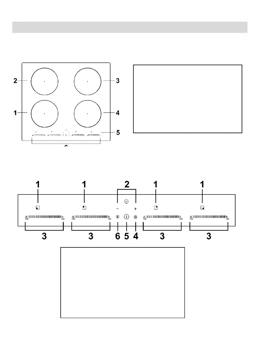
Pregled izdelka
Pogled od zgoraj
Upravljalna plošča
1. Cona 2000 W, povečanje moči na 2600 W
2.
Cona 1500 W, povečanje moči na 2000 W
3.
Cona 2000 W, povečanje moči na 2600 W
4.
Cona 1500 W, povečanje moči na 2000 W
5.
Steklena plošča
6.
Upravljalna plošča
1. Indikator za izbiro ogrevalne cone
2.
Gumb časovnika
3.
Gumb za regulacijo moči/nadzor funkcije
ojačevalnika/kontrola funkcije ohranjanja
toplote
4.
gumb za zaklepanje
5.
Gumb za vklop/izklop
6. Gumb Stop+Go

Table of Contents

Related product manuals