EasyManua.ls Logo

Candy CIES642MCTT - Pregled Proizvoda

Candy CIES642MCTT
295 pages
Print Icon
To Next Page IconTo Next Page
To Next Page IconTo Next Page
To Previous Page IconTo Previous Page
To Previous Page IconTo Previous Page
Loading...
HR-7
Pregled proizvoda
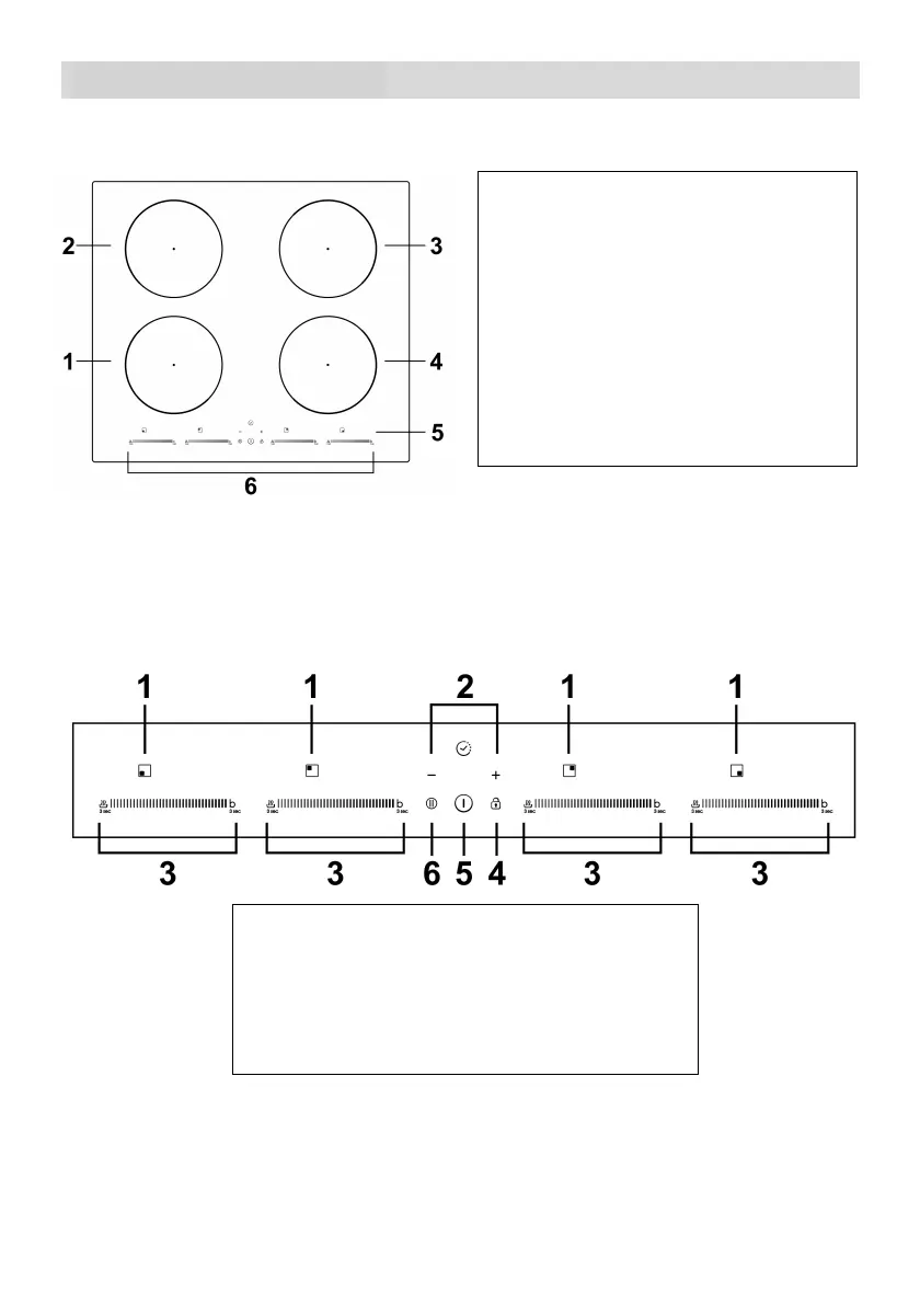
Pogled odozgo
1. 2000 W zona, povećanje snage do
2600 W
2. 1500 W zona, povećanje snage do
2000 W
3. 2300 W zona, povećanje snage do
2600 W
4. 1500 W zona, povećanje snage do
2000 W
5. Staklena ploča
6. Upravljačka ploča
Upravljačka ploča
1. Indikator odabir zone zagrijavanja
2. Vremenski programator
3. Tipka za regulaciju snage/tipka za funkciju povećanja
snage/tipka za funkciju održavanja topline
4. Tipka za blokiranje ploče za kuhanje
5. Tipka za uključivanje/isključivanje
6. Tipka Stop+Go

Table of Contents

Related product manuals