EasyManua.ls Logo

Candy CTP6SC4/E14U - Page 109

Candy CTP6SC4/E14U
222 pages
Print Icon
To Next Page IconTo Next Page
To Next Page IconTo Next Page
To Previous Page IconTo Previous Page
To Previous Page IconTo Previous Page
Loading...
PL-8
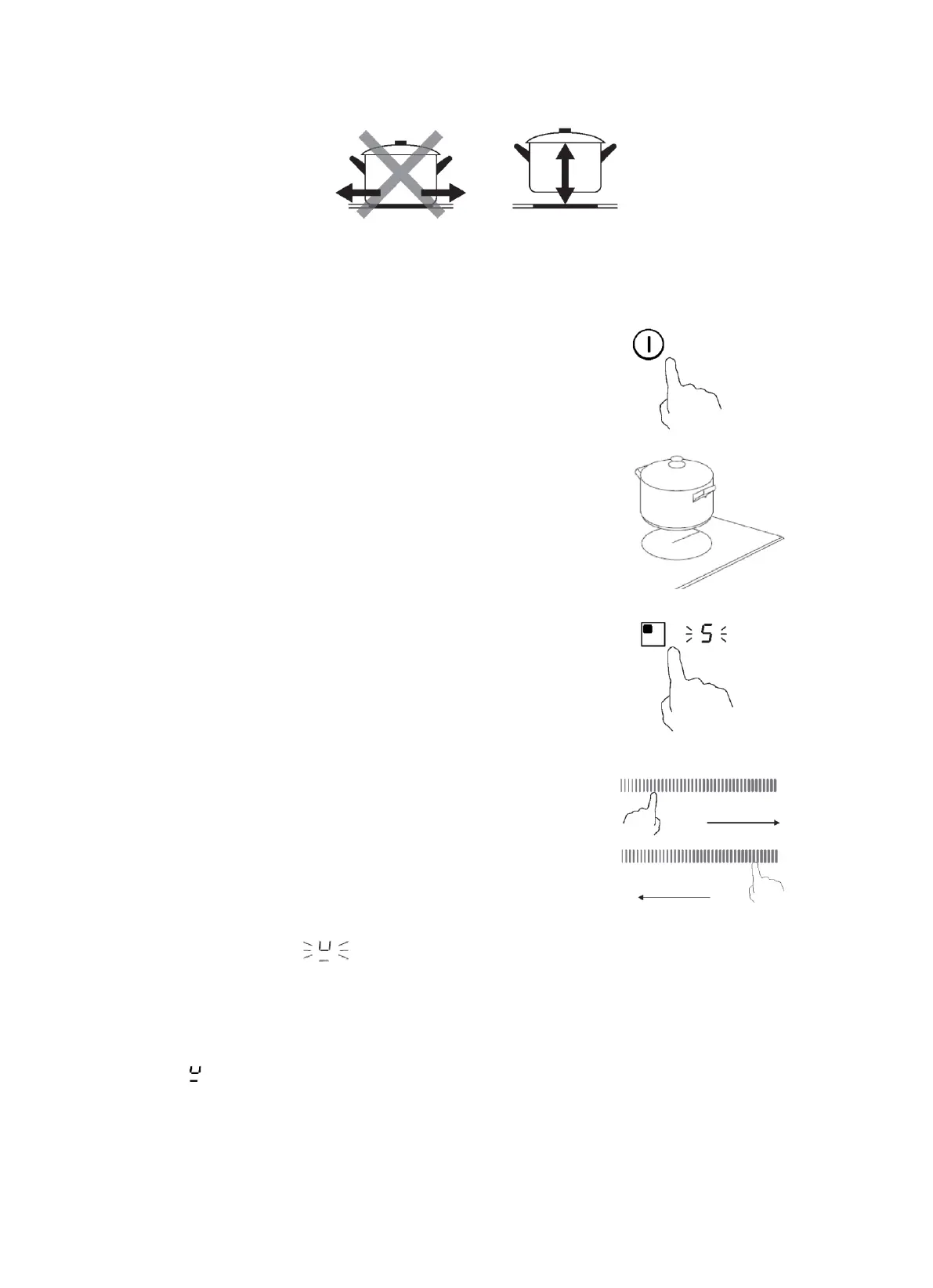
Zawsze zdejmuj patelnie z płyty indukcyjnej - nie przesuwaj, bo mogą porysować szkło.
Jak używać?
Rozpocznij pieczenie
Dotknij przycisku WŁ./WYŁ. Po włączeniu rozlegnie się jeden
sygnał dźwiękowy, na wszystkich wyświetlaczach pojawi się „-” lub
- -”, co oznacza, że płyta indukcyjna przeszła w stan czuwania.
Umieść odpowiednią patelnię na strefie gotowania, której chcesz użyć.
Upewnij się, że dno naczynia i powierzchnia strefy
gotowania są czyste i suche.
Dotknij przycisku wyboru strefy grzewczej, a obok przycisku
zacznie migać wskaźnik
Wybierz ustawienie grzania, dotykając przycisku suwaka
Jeśli nie wybierzesz ustawienia mocy grzania w ciągu 1 minuty,
płyta indukcyjna wyłączy się automatycznie. Konieczne będzie ponowne
rozpoczęcie od kroku 1.
Podczas gotowania można w dowolnym momencie zmienić moc grzania.
Jeśli wyświetlacz miga na przemian z ustawieniem mocy grzania
To znaczy że:
nie ustawiłeś naczynia na właściwej strefie gotowania lub
naczynie, którego używasz, nie nadaje się do gotowania indukcyjnego lub
naczynie jest za małe lub nieprawidłowo wyśrodkowane w strefie gotowania.
Grzanie nie rozpocznie się, jeśli w strefie gotowania nie ma odpowiedniego naczynia.
Wyświetlacz „ ” wyłączy się automatycznie po 1 minucie, jeśli nie zostanie na nim umieszczony odpowiednie naczynie.
zwiększ moc
zmniejsz moc

Related product manuals