EasyManua.ls Logo

Candy CTP6SC4/E14U - Como Utilizar

Candy CTP6SC4/E14U
222 pages
Print Icon
To Next Page IconTo Next Page
To Next Page IconTo Next Page
To Previous Page IconTo Previous Page
To Previous Page IconTo Previous Page
Loading...
PT-8
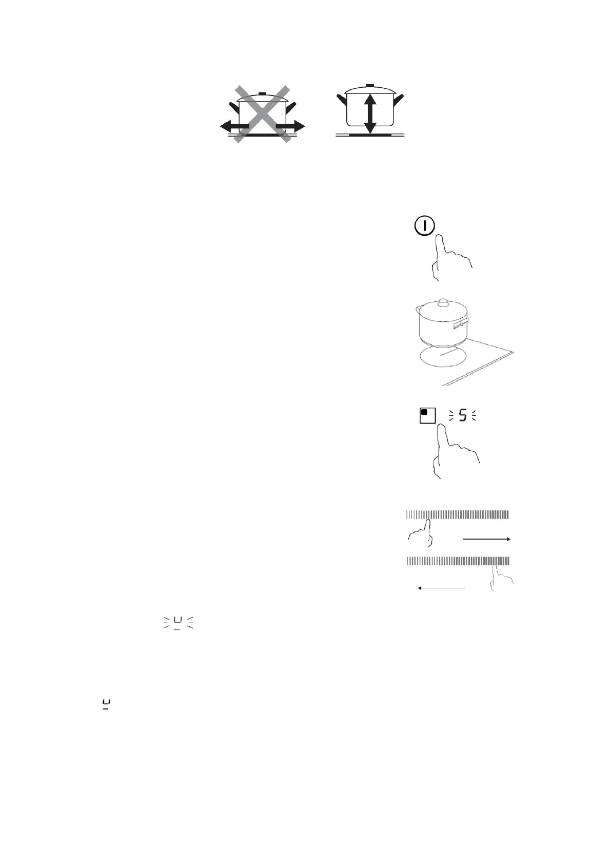
Levante sempre panelas da placa de indução, não as arraste, pois podem riscar o vidro.
Como utilizar
Começar a cozinhar
Toque no comando LIGAR/DESLIGAR. Após ligar, o sinal
sonoro soa uma vez, todos os ecrãs mostram "-" ou "- -",
indicando que a placa de indução entrou no modo de espera.
Coloque uma panela adequada na zona de cozedura que
pretende utilizar.
Certifique-se de que o fundo da panela e a superfície da
zona de cozedura estão limpos e secos.
Ao tocar no controlo de seleção da zona de aquecimento, irá
piscar um indicador ao lado do botão
Selecione uma definição de calor tocando no controlo deslizante
Se não selecionar uma definição de calor no período de 1
minuto, a placa de indução desliga-se automaticamente. Terá
de recomeçar no passo 1.
É possível modificar a regulação do calor a qualquer altura
durante a cozedura.
Se o visor piscar alternadamente com a regulação do calor
Isto significa que:
não colocou uma panela na zona de cozedura correta ou,
a panela que está a utilizar não é adequada para cozinhar por indução ou,
a panela é muito pequena ou não está devidamente centrada na zona de cozedura.
O aquecimento não é ativado se não existir uma panela adequada na zona de cozedura.
O visor " ” desliga-se automaticamente após 1 minuto se não for colocada uma panela adequada.
ligar
desligar

Related product manuals