EasyManua.ls Logo

Candy CTP6SC4/E14U - Comment Lutiliser

Candy CTP6SC4/E14U
222 pages
Print Icon
To Next Page IconTo Next Page
To Next Page IconTo Next Page
To Previous Page IconTo Previous Page
To Previous Page IconTo Previous Page
Loading...
FR-8
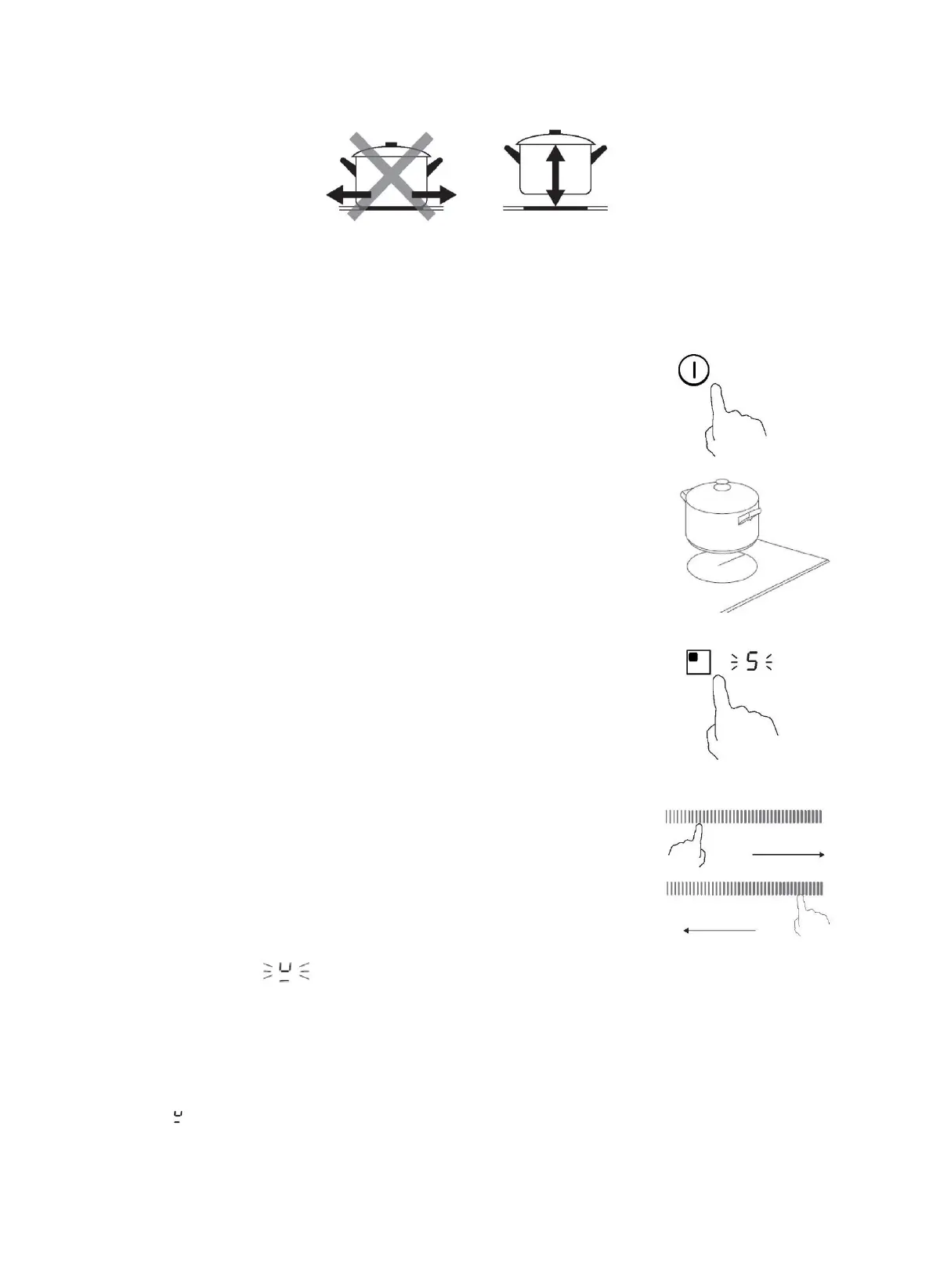
Soulevez toujours les casseroles de la plaque à induction, ne les faites pas glisser car cela pourrait rayer le verre.
Comment l'utiliser
Commencer à cuire
Touchez la commande Marche/Arrêt. Quand la plaque est allumée, la sonnerie émet
un bip, tous les afficheurs indiquent "-" ou "- -" pour montrer que la plaque
à induction est passée en mode veille.
Placez une casserole adaptée sur la zone de cuisson que vous souhaitez utiliser.
Assurez-vous que le fond de la casserole et la surface de la zone de cuisson
soient propres et secs.
En touchant la commande de sélection de la zone de cuisson, un voyant à côté
de la touche se mettra à clignoter.
Sélectionnez un réglage de chaleur en touchant la commande curseur.
Si vous ne choisissez pas un réglage de chaleur dans la minute qui suit, la plaque à
induction s'éteindra automatiquement. Vous devrez recommencer à partir de l'étape 1.
Vous pouvez modifier le réglage de la chaleur à tout moment durant la cuisson.
Si l'affichage clignote en alternance avec le réglage de la chaleur
Cela veut dire que :
vous n'avez pas placé de casserole sur la zone de cuisson correcte ou,
la casserole que vous utilisez n'est pas adaptée pour la cuisson à induction ou,
la casserole est trop petite ou n'est pas correctement centrée sur la zone de cuisson.
La plaque ne chauffera pas tant qu'une casserole adaptée n'aura pas été posée sur la zone de cuisson.
L'affichage « » s'éteindra automatiquement au bout d'une minute si aucune casserole adaptée n'est placée
sur la plaque.
augmenter
diminuer

Related product manuals