EasyManua.ls Logo

Candy CTP6SC4/E14U - Page 130

Candy CTP6SC4/E14U
222 pages
Print Icon
To Next Page IconTo Next Page
To Next Page IconTo Next Page
To Previous Page IconTo Previous Page
To Previous Page IconTo Previous Page
Loading...
SL-8
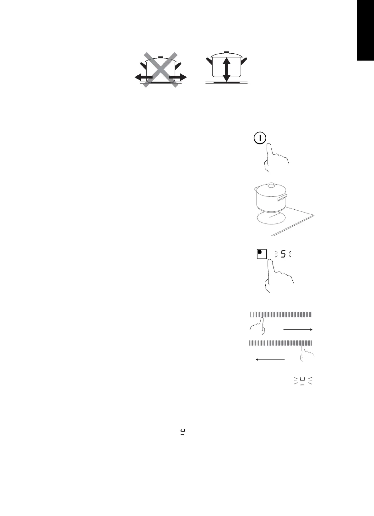
Posode z indukcijske kuhalne plošče vedno dvignite in z njimi ne drsajte po površini, sicer lahko opraskajo steklo.
Kako uporabljati
Začetek kuhanja
Dotaknite se gumba za vklop/izklop. Po vklopu se enkrat oglasi
zvočni signal, na vseh prikazovalnikih se prikaže »-« ali »--« kar
pomeni, da je indukcijska kuhalna plošča v stanju pripravljenosti.
Na kuhališče, ki ga želite uporabiti, postavite primerno posodo.
Prepričajte se, da sta dno posode in površina kuhališča čista in suha.
Dotaknite se gumba za izbiro kuhališča, da začne utripati indikator poleg gumba.
Z dotikom drsnika izberite nastavitev segrevanja.
Če nastavitve segrevanja ne izberete v 1 minuti, se indukcijska kuhalna
plošča samodejno izklopi. Znova boste morali začeti s 1. korakom.
Nastavitev segrevanja lahko spremenite kadar koli med kuhanjem.
Če na prikazovalniku izmenično z nastavitvijo segrevanja utripa simbol
To pomeni, da:
posode niste postavili na ustrezno kuhališče ali
posoda, ki jo uporabljate, ni primerna za indukcijsko kuhanje ali
je posoda premajhna oziroma ni pravilno postavljena na sredino kuhališča.
Segrevanje ne poteka, če na kuhališču ni primerne posode.
Če na kuhališče ne postavite primerne posode, prikaz » « po 1 minuti izgine.
vklop
izklop
SLOVENSKO

Related product manuals