EasyManua.ls Logo

Canon F-604 - APPLIED CALCULATIONS; Electrical and Algebraic Examples

Canon F-604
40 pages
Print Icon
To Next Page IconTo Next Page
To Next Page IconTo Next Page
To Previous Page IconTo Previous Page
To Previous Page IconTo Previous Page
Loading...
7
4#6 :+#87#+%6!$
# 8%(686%<1!% A(+%6!A6(876%(# 
/" $G00&&" 010M*
.&02"&0"&# 
#A (+
"  2  Y# 0 H# :3 2 1/
.&"$<
,
F+,FM
,M
K*
K
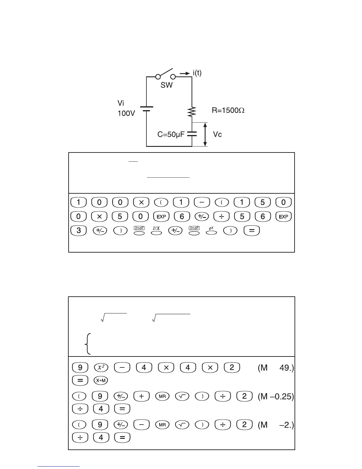
(52.60562649)
Vc = Vi (1 e )
= 100 ×
(
1 e
)
= 52.60562649
RC
1
1500 × 50 × 10
6
56 × 10
3
/ /
0
±


+ +
××±
×
M
,M

Other manuals for Canon F-604

Related product manuals