EasyManua.ls Logo

Cap Strength FM-CS7100-2 - Assembly

Cap Strength FM-CS7100-2
22 pages
Print Icon
To Next Page IconTo Next Page
To Next Page IconTo Next Page
To Previous Page IconTo Previous Page
To Previous Page IconTo Previous Page
Loading...
11
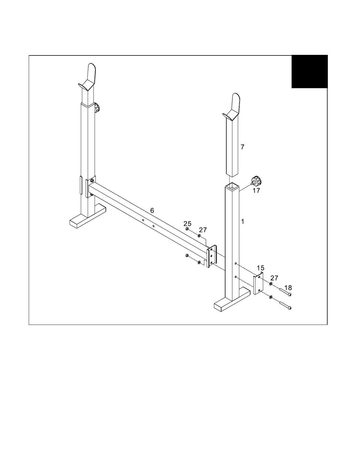
7. ASSEMBLY / MONTAJE / ASSEMBLAGE
1

Related product manuals