EasyManua.ls Logo

Carlton 2015 - Page 142

Carlton 2015
183 pages
Print Icon
To Next Page IconTo Next Page
To Next Page IconTo Next Page
To Previous Page IconTo Previous Page
To Previous Page IconTo Previous Page
Loading...
Revised 3.15.05
SERIAL NUMBERS
OWNER DOMAIN
J.P. CARLTON COMPANY DIV. DAF INC.
BUINESS LINE
FUCTION GROUP
CHIPPERS
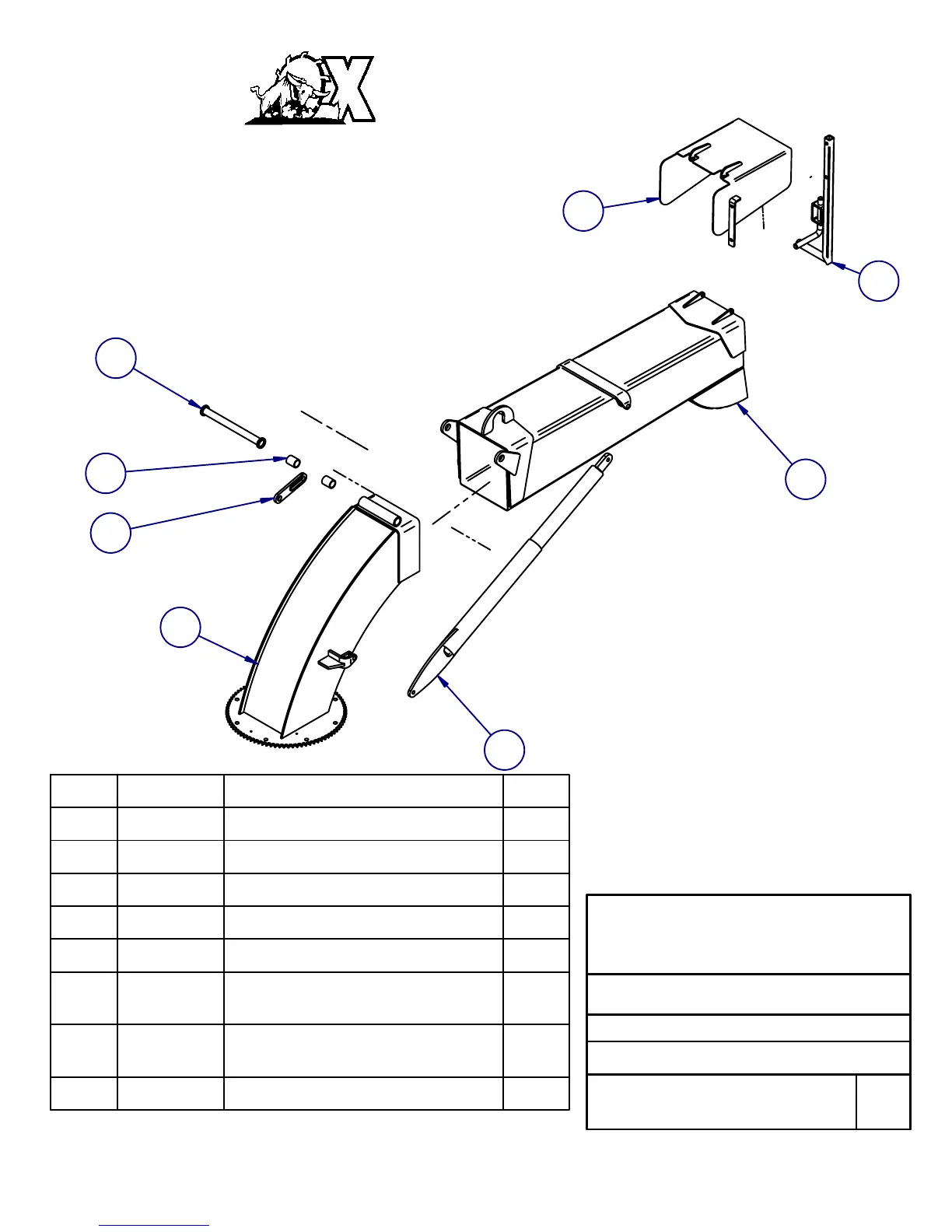
6 DISCHARGE SYSTEM
Carlton
PROFESSIONAL
TREE EQUIPMENT
19
DESCRIPTION
ISSUE
R1
DISCHARGE SYSTEM
1J9XF011X81167139
DUE TO CONTINUOUS DESIGN IMPROVEMENTS CONSULT FACTORY PRIOR TO ORDERING 1-800-243-9335.
8
5
7
1
2
3
PART ITEM DESCRIPTION QTY
1 21260021 WELDMENT,REAR JACK 1
2 21260032 WELDMENT,DISCHARGE ELBOW/DN ROD 1
3 21260036 BUSHING,DISCHARGE 2
4 21560002 WELDMENT,DISCHARGE ELBOW 1
5 21660003 WELDMENT,DISCHARGE NECK 1
6 21660004 WELDMENT,DISCHARGE CHIP
REFLECTOR
1
7 21660006 WELDMENT,DISCHARGE ADJUST
HANDLE
1
8 21860020 STOP,DISCHARGE JACK 1
6
4

Related product manuals