EasyManua.ls Logo

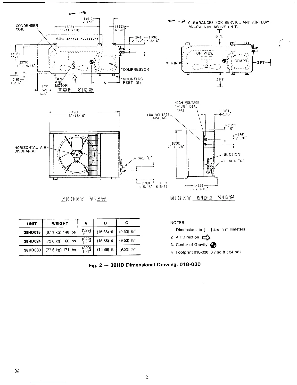
Carrier 38HD - 38 HD Dimensional Drawing

Carrier 38HD
12 pages
Print Icon
To Next Page IconTo Next Page
To Next Page IconTo Next Page
To Previous Page IconTo Previous Page
To Previous Page IconTo Previous Page
Loading...

Other manuals for Carrier 38HD

Related product manuals