EasyManua.ls Logo

Carrier 38HD018 - Horizontal Air Discharge

Carrier 38HD018
12 pages
Print Icon
To Next Page IconTo Next Page
To Next Page IconTo Next Page
To Previous Page IconTo Previous Page
To Previous Page IconTo Previous Page
Loading...
**''
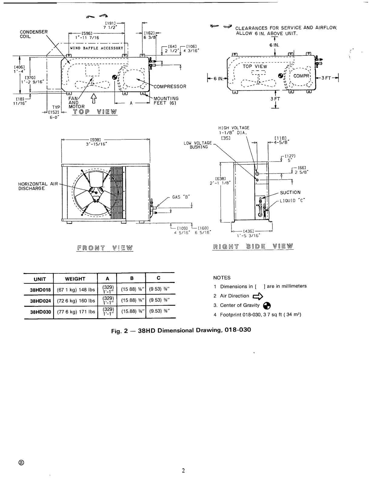
CLEARANCES
FOR
SERVICE
AND
AIRFLOW.
ALLOW
6
IN.
ABOVE
UNIT.
6
IN.
k
6
H
_L
HIGH
VOLTAGE
1-1/8'
DIA.
HORIZONTAL
AIR
DISCHARGE
FIS®
[MT
¥
0
E
W
[^D@[Hnr
I
EH
WOiW
UNIT
WEIGHT
A
B
C
38HD018
(67
1
kg)
148
lbs
(329)
r-r
(15
88)
5
/b"
(9
53)
%"
38HD024
(72
6
kg)
160
lbs
(329)
V-1"
(15
88)
5
/
8
"
(9
53)
3
/a"
38HD030
(77
6
kg)
171
lbs
(329)
r-r
(15.88)
%"
(9.53)
%"
NOTES
1
Dimensions
in
[
]
are
in
millimeters
2
Air
Direction
«=>
3.
Center
of
Gravity
^
4
Footprint
018-030,
3
7
sq
ft
(
34
m
2
)
Fig.
2
38HD
Dimensional
Drawing,
018-030

Related product manuals