EasyManua.ls Logo

Carrier /50HC 04-28 - Page 27

Carrier /50HC 04-28
104 pages
To Next Page IconTo Next Page
To Next Page IconTo Next Page
To Previous Page IconTo Previous Page
To Previous Page IconTo Previous Page
Loading...
27
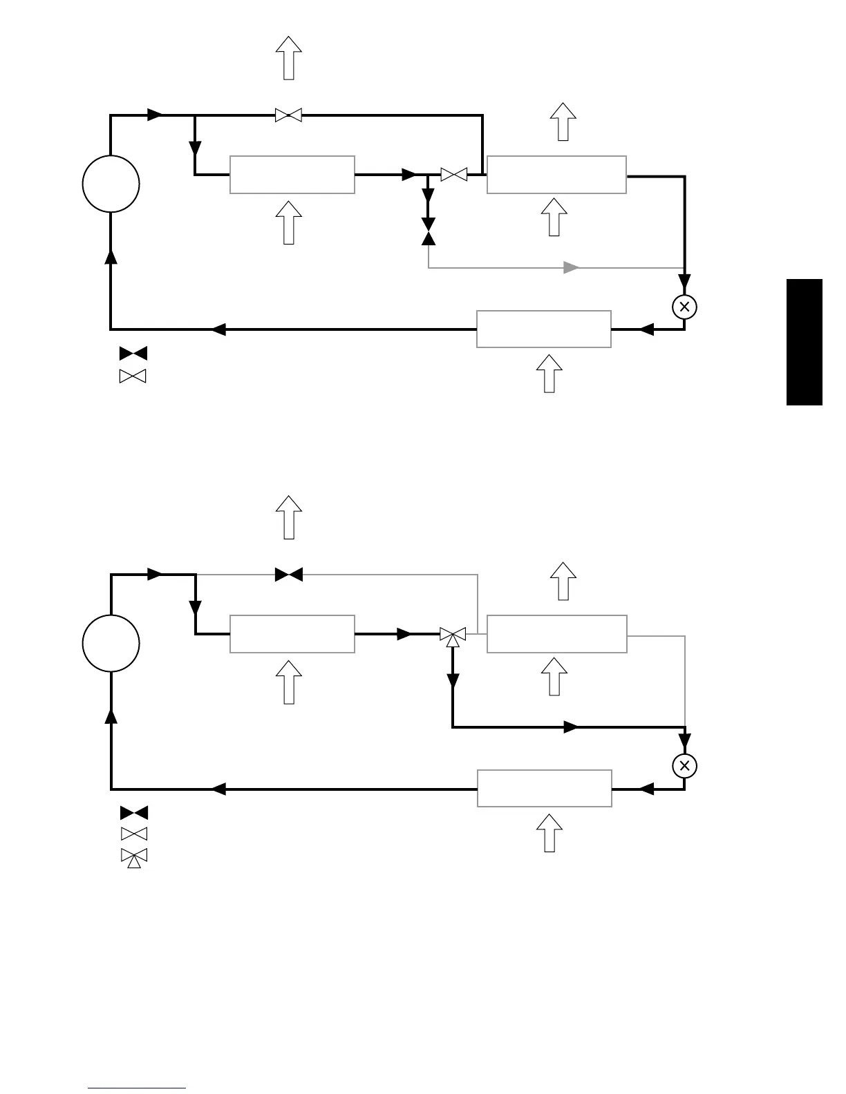
COMP
COND COIL HUMIDI-MIZER COIL
EVAP COIL
INDOOR ENTERING
AIR
METERING
DEVICE
RLV.x
RDV.x
OUTDOOR AIR
CLOSED VALVE
OPEN VALVE
CLV.x
C12362
Fig. 11 -- Hot Gas Reheat Mode (Reheat2) Humidi--MiZer System
48/50HC 04--12
COMP
COND COIL HUMIDI-MIZER COIL
EVAP COIL
INDOOR ENTERING
AIR
METERING
DEVICE
LDV.x
RDV.x
OUTDOOR AIR
CLOSED VALVE
OPEN VALVE
3-WAY VALVE
C12363
Fig. 12 -- Normal Cooling Mode Humidi--MiZert System
48/50HC 14--28
ComfortLINK v1.X

Table of Contents

Related product manuals