EasyManua.ls Logo

Carrier 58CTW - Page 24

Carrier 58CTW
56 pages
To Next Page IconTo Next Page
To Next Page IconTo Next Page
To Previous Page IconTo Previous Page
To Previous Page IconTo Previous Page
Loading...
24
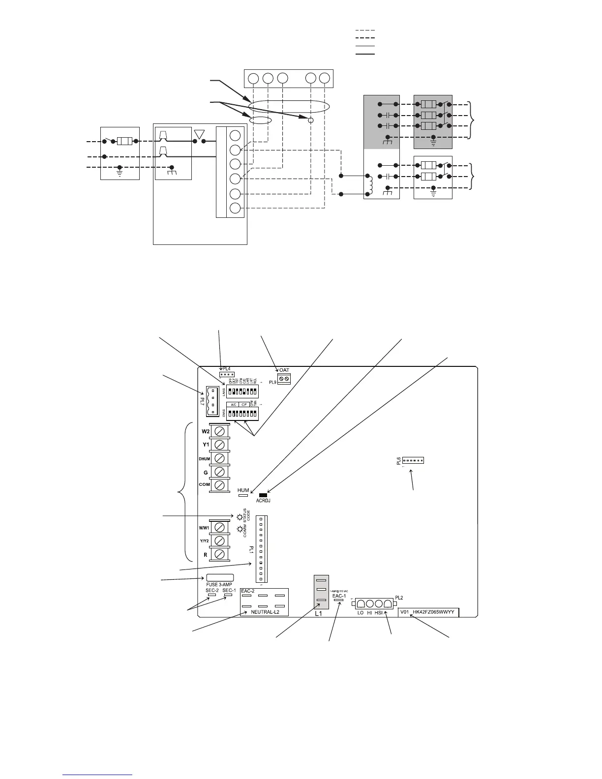
115-VOLT FIELD-
SUPPLIED
FUSED
DISCONNECT
JUNCTION
BOX
CONTROL
BOX
24-VOLT
TERMINAL
BLOCK
THREE-WIRE
HEATING-
ONLY
FIVE
WIRE
NOTE 2
NOTE 1
1-STAGE
THERMOSTAT
TERMINALS
FIELD-SUPPLIED
FUSED DISCONNECT
CONDENSING
UNIT
FURNACE
COM
R
WCY RG
GND
GND
FIELD 24-VOLT WIRING
FIELD 115-, 208/230-, 460-VOLT WIRING
FACTORY 24-VOLT WIRING
FACTORY 115-VOLT WIRING
Connect Y/Y2-terminal as shown for proper operation.
Some thermostats require a "C" terminal connection as shown.
If any of the original wire, as supplied, must be replaced, use
same type or equivalent wire.
208/230- OR
460-VOLT
THREE
PHASE
208/230-
VOLT
SINGLE
PHASE
WHT
BLK
WHT
BLK
W/W1
W2
Y/Y2
G
NOTES: 1.
2.
3.
A95236
Fig. 25 -- Field Wiring Diagram
24-V THERMOSTAT
TERMINALS
PL2 – HOT SURFACE
IGNITER & INDUCER
MOTOR CONNECTOR
115-VAC (L2) NEUTRAL
CONNECTIONS
115-VAC (L1) LINE
VOLTAGE CONNECTIONS
EAC-1 TERMINAL
(
115-VAC 1.0 AMP MAX.
)
PL1 – LOW VOLTAGE MAIN
HARNESS CONNECTOR
TRANSFORMER 24-VAC
CONNECTIONS
3-AMP FUSE
STATUS AND COMM
LED LIGHTS
SW1 SETUP
SWITCHES AND
BLOWER OFF-
DELAY
MODEL PLUG
CONNECTOR
COMMUNICATION
CONNECTOR
AIR CONDITIONING (A/C) &
CONTINUOUS FAN (CF)
AIRFLOW SETUP SWITCHES
OUTDOOR
AIR TEMP
CONNECTOR
HUMIDIFIER
TERMINAL (24-VAC
0.5 AMP MAX.)
ACRDJ – AIR
CONDITIONING
RELAY DISABLE
JUMPER
FLASH
UPGRADE
CONNECTOR
(FACTORY
ONLY)
SOFTWARE
VERSION
L14F003
Fig. 26 -- Variable Speed Furnace Control for ECM Blower Motor

Other manuals for Carrier 58CTW

Related product manuals