EasyManua.ls Logo

Case CX130 - Page 43

Case CX130
262 pages
Print Icon
To Next Page IconTo Next Page
To Next Page IconTo Next Page
To Previous Page IconTo Previous Page
To Previous Page IconTo Previous Page
Loading...
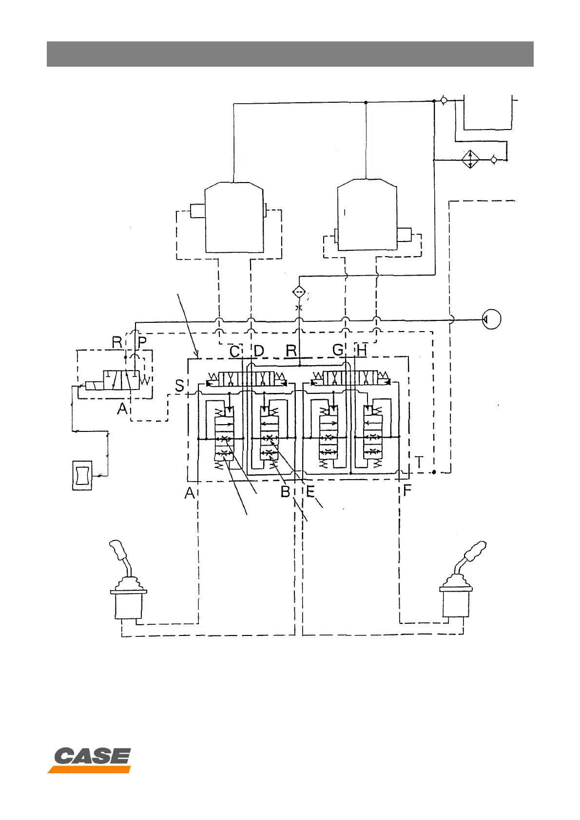
COMPONENTS CX130
3 - 9
CASE TRAINING CENTER
AUGUST 2000
TANK
CONTROL VALVE
BOOM
CONTROL VALVE
DIPPER
SOLENOID VALVE
CUSHION VALVE
FILTER
PILOTE
CUSHION
BUTTON
a
b
c
d
ARM
CLOSED
OPEN
BOOM
UP
DOWN
PRESSURE
PUMP

Related product manuals