EasyManua.ls Logo

Case CX130 - Page 83

Case CX130
262 pages
Print Icon
To Next Page IconTo Next Page
To Next Page IconTo Next Page
To Previous Page IconTo Previous Page
To Previous Page IconTo Previous Page
Loading...
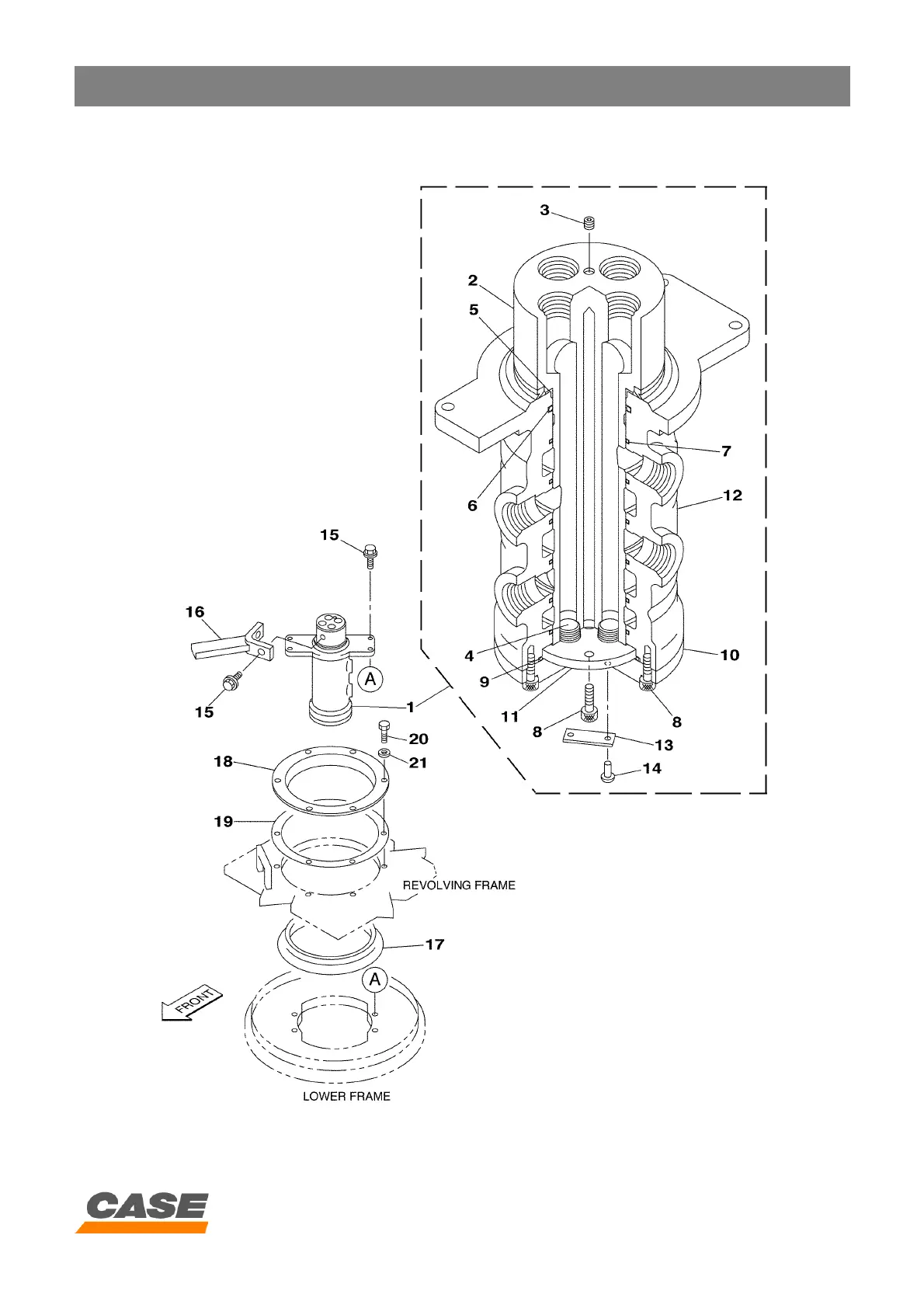
COMPONENTS CX130
3 - 49
CASE TRAINING CENTER
AUGUST 2000
Swivel joint

Related product manuals