EasyManua.ls Logo

Case CX240 - Engine Component Location (Right Side)

Case CX240
273 pages
Print Icon
To Next Page IconTo Next Page
To Next Page IconTo Next Page
To Previous Page IconTo Previous Page
To Previous Page IconTo Previous Page
Loading...
CX210/CX240 ELECTRONIC FUEL SYSTEM
8 - 8
CX EXCAVATORS
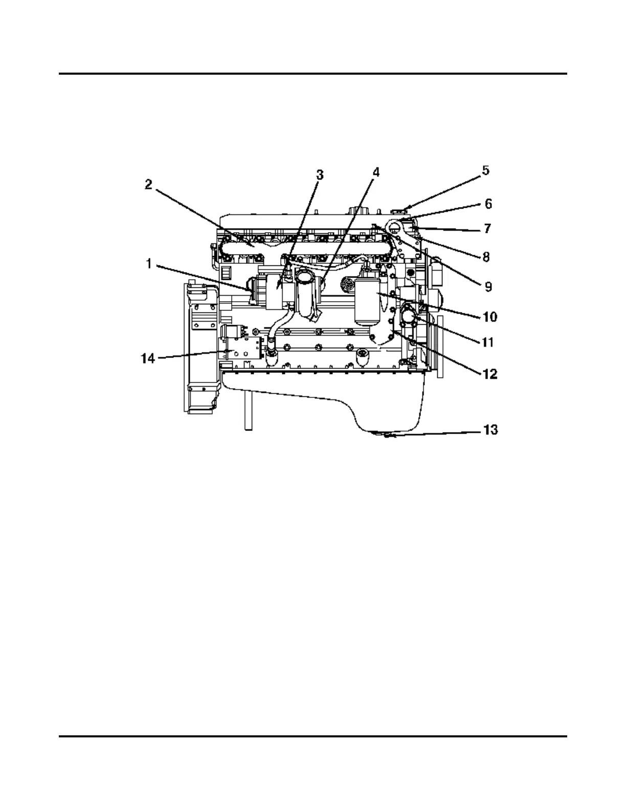
ENGINE COMPONENT LOCATION
RIGHT SIDE
1. Turbocharger Outlet Connection
2. Exhaust Manifold
3. Turbocharger
4. Turbocharger Inlet Connection
5. Oil Fill
6. Front Engine Lifting Bracket
7. Coolant Outlet
8. Thermostat Housing
9. Coolant Line Connector
10. Oil Filter
11. Coolant Inlet
12. Oil Cooler
13. Oil Drain
14. Starter Motor and Solenoid

Table of Contents

Related product manuals