EasyManua.ls Logo

Case CX240 - Page 26

Case CX240
273 pages
Print Icon
To Next Page IconTo Next Page
To Next Page IconTo Next Page
To Previous Page IconTo Previous Page
To Previous Page IconTo Previous Page
Loading...
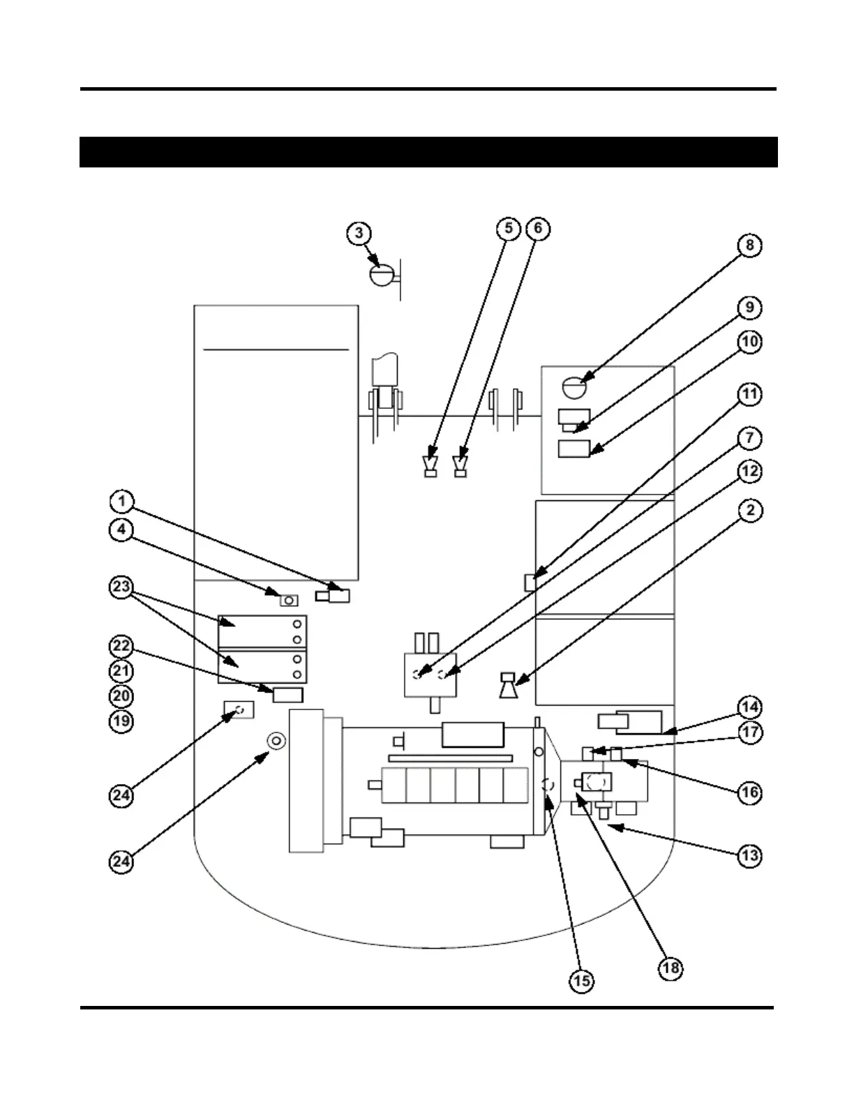
COMPONENT LOCATIONS
2 - 8
CX EXCAVATORS
ELECTRICAL COMPONENTS
Outside the Cab

Table of Contents

Related product manuals