EasyManua.ls Logo

Casio FX-7400GII - SOFTWARE VERSION 2-00 - Page 172

Casio FX-7400GII - SOFTWARE VERSION 2-00
412 pages
Print Icon
To Next Page IconTo Next Page
To Next Page IconTo Next Page
To Previous Page IconTo Previous Page
To Previous Page IconTo Previous Page
Loading...
6-32
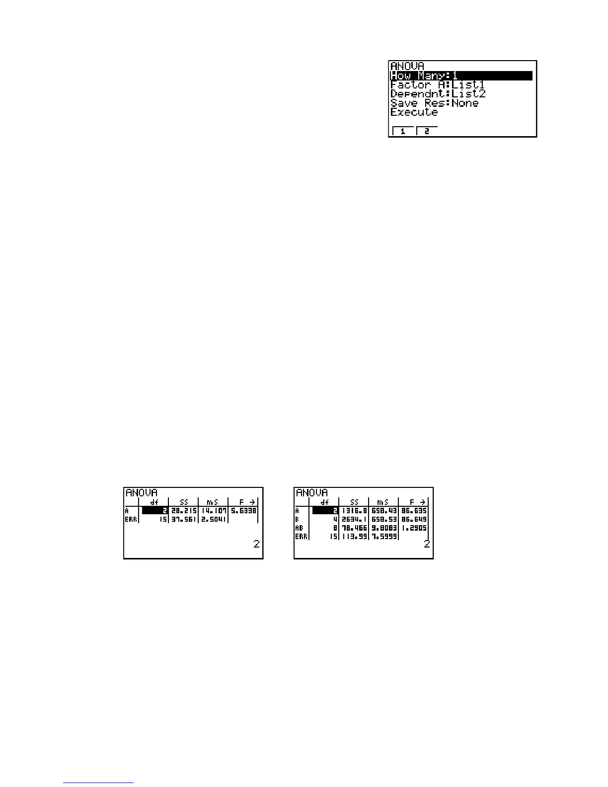
Perform the following key operations from the statistical data list.
(TEST)
(ANOV)
The following is the meaning of each item in the case of list data specification.
How Many..... selects One-Way ANOVA or Two-Way ANOVA (number of levels)
Factor A ........ category list (List 1 to 26)
Dependnt ...... list to be used for sample data (List 1 to 26)
Save Res ...... first list for storage of calculation results (None or List 1 to 22)*
1
Execute......... executes a calculation or draws a graph (Two-Way ANOVA only)
*
1
[Save Res] saves each vertical column of the table into its own list. The leftmost column
is saved in the specified list, and each subsequent column to the right is saved in the next
sequentially numbered list. Up to five lists can be used for storing columns. You can specify
an first list number in the range of 1 to 22.
The following item appears in the case of Two-Way ANOVA only.
Factor B ........ category list (List 1 to 26)
After setting all the parameters, use A to move the highlighting to “Execute” and then press
one of the function keys shown below to perform the calculation or draw the graph.
(CALC) ... Performs the calculation.
(DRAW) ... Draws the graph (Two-Way ANOVA only).
Calculation results are displayed in table form, just as they appear in science books.
Calculation Result Output Example
One-Way ANOVA
Line 1 (A) .......... Factor A
df value, SS value, MS value, F value, p-value
Line 2 (ERR)..... Error
df value, SS value, MS value
Two-Way ANOVA
Line 1 (A) .......... Factor A
df value, SS value, MS value, F value, p-value
Line 2 (B) .......... Factor B
df value, SS value, MS value, F value, p-value
Line 3 (AB)........ Factor A s Factor B
df value, SS value, MS value, F value, p-value
* Line 3 does not appear when there is only one observation in each
cell.
Line 4 (ERR)..... Error
df value, SS value, MS value
F ...................... F value

Table of Contents

Related product manuals