EasyManua.ls Logo

Casio PCR-T280 - Percent Key Rounding and Discount Settings; Minus Key Taxable Status Configuration

Casio PCR-T280
46 pages
Print Icon
To Next Page IconTo Next Page
To Next Page IconTo Next Page
To Previous Page IconTo Previous Page
To Previous Page IconTo Previous Page
Loading...
20
E
Part-2 CONVENIENT OPERATION
C
ZZ :
Z
~
cg
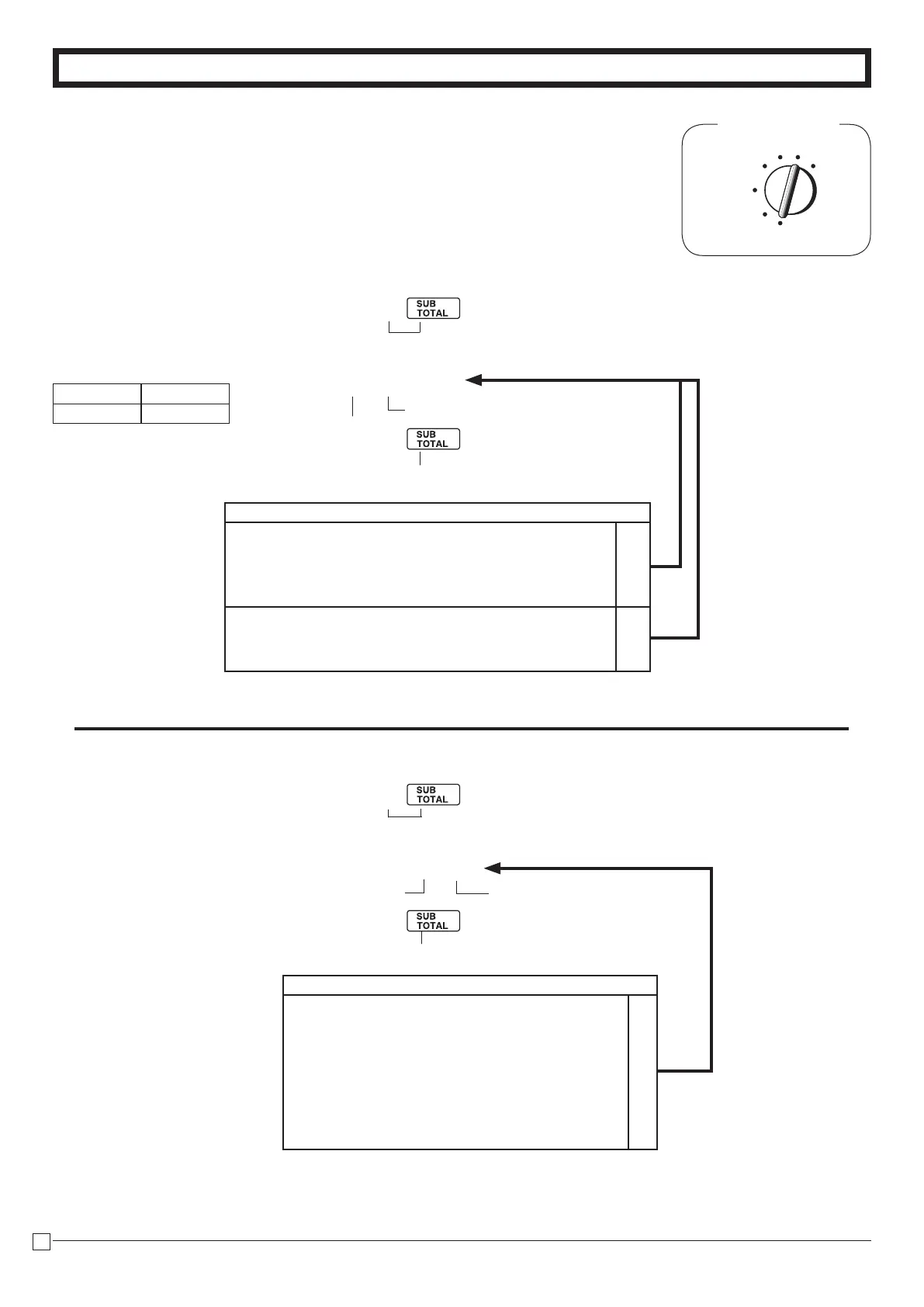
Mode Switch
REG
OFF
RF
PGM
CAL X
Z
1-5-2 Status for
percent key
Selectanumber
fromlistA
Selectanumber
fromlistB
P3appearsinmodedisplay
(Toendthesetting)
TheminuskeyisinitializedasNon-taxable.
1-6 Taxable Status
for minus key
P appears in mode display
Minuskey
(Toendthesetting)
SelectkeyfromlistA
Example
Changeminuskeyregistra-
tions
asataxablestatus1.
Selections
RoundingofresultsproducedbyPercentKeyoperation.
A
Roundoff(1.544=1.54;1.545=1.55)
?
Cutoff(1.544=1.54;1.545=1.54)
Z
Roundup(1.544=1.55;1.545=1.55)
X
ProgramPercentKeytoregisterdiscounts(%–).
?
B
ProgramPercentKeytoregisterpremiums(%+).
Z
ProgramPercentKeytofunctionasaManualTaxkey.
X
Example
Round Up
Percent %+
Selections
Taxablestatus1
c
A
Taxablestatus2
v
Taxablestatus1and2
c
v
Taxablestatus3
h
Taxablestatus4
u
All-taxable
c
v
hu
Non-taxablestatus
m

Other manuals for Casio PCR-T280

Related product manuals