EasyManua.ls Logo

Casit EQ2009 - Terminal Block M1; Operation

Default Icon
14 pages
Print Icon
To Next Page IconTo Next Page
To Next Page IconTo Next Page
To Previous Page IconTo Previous Page
To Previous Page IconTo Previous Page
Loading...
Page 11 of 14 EQ2009 R 1.6 1.8 Rev. 02 del 2/05/2011
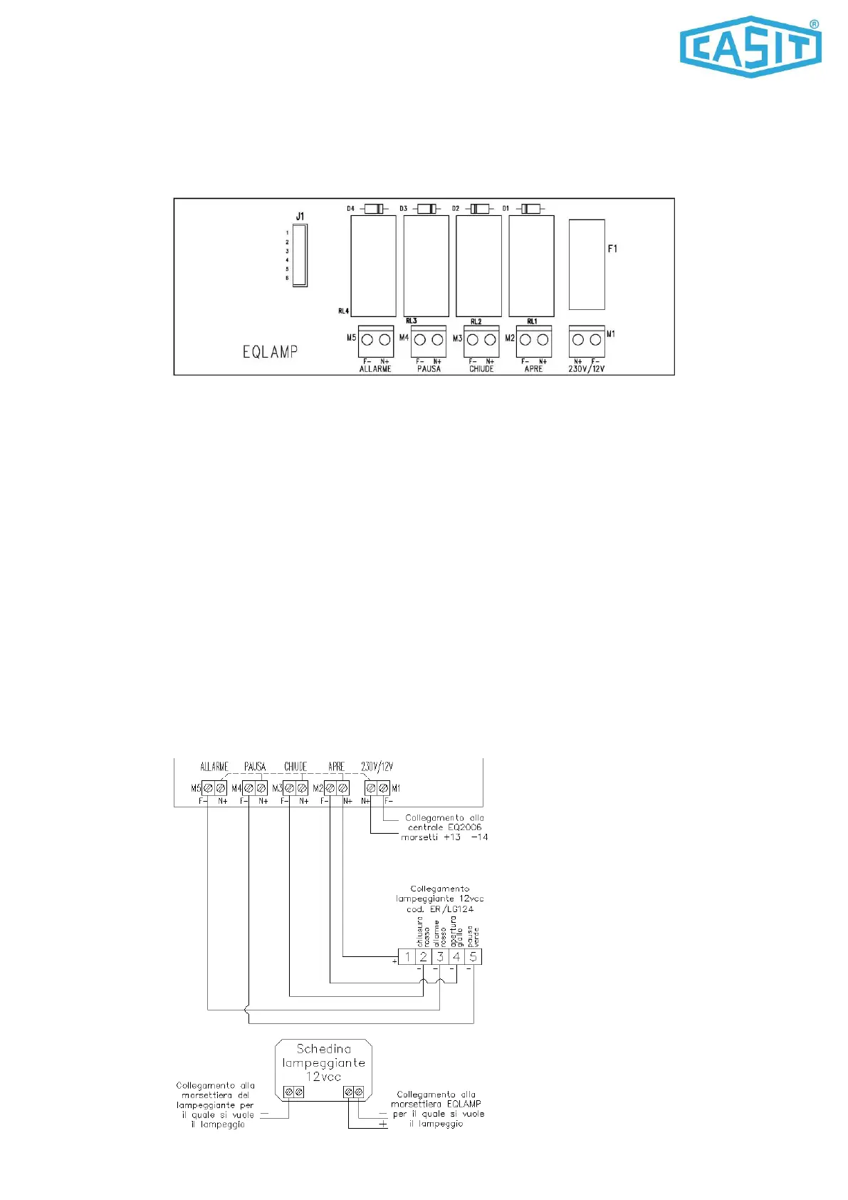
9) CARD FLASHING MANAGEMENT cod.EQLAMP” (Accessoire on demand)
Usable as signalings according to the directives or as traffic light to signal the state of the gate.
Not be used with motors with encoders
The card of management flashing LAMP has to be connected to the control panel EQ2009 through the insertion of the 6 poles cable
in the connector J2. The card LAMP has terminal block for the connection of the loads with the following order
TERMINAL BLOCK M1
Feeding 230V (neutral to the clamp N, phase to the clamp F),
or feeding 12Vcc (positive to the clamp +, negative to the
clamp -).
TERMINAL BLOCK M2
Output signal clinking in opening
TERMINAL BLOCK M3
Output signal clinking in closing.
TERMINAL BLOCK M4
Output signal clinking in pause.
TERMINAL BLOCK M5
Output signal clinking alarm signal.
In case of feeding to 12Vcc for signal clinking with led respect the polarity.
Using a signal clinking with the positive pole in common to the leds, connect the positive pole of the leds to the source of
feeding and the negative pole of every leds to the clamp F of the relative terminal block.
Naturally the negative one of the source of feeding must be connected on the terminal block F to the clamp M1
OPERATION:
Train the operation of the card LAMP through S3 - dip 3 ON.
During the opening the signal clinking is activated connecting it to the terminal block M2, in the time-break the signal clinking must
be connected to the terminal block M4, in closing the signal clinking must be connected to the terminal block M3.
The intervention of the safety edge connected to the input SAFETY EDGE 1 cause an inversion of the sense of march for 2
seconds, the consequent arrest of the gate and the activation of the alarm of the signal clinking connected to the clamp M5.
In this condition a START command or PEDESTRIAN command are ignored, because the control panel must be rehabilitates by th
push button n.o. of rearmament, that it has to be connected to the input SAFETY EDGE 2.
Only after having rehabilitated the control panel it is possible to start the gate with the inputs of START or PEDESTRIAN.

Related product manuals