Home
CDA
Oven
sk650
Page 27
CDA sk650 - Page 27
32 pages
Manual
Save Page as PDF
To Next Page
To Next Page
To Previous Page
To Previous Page
Loading...
27
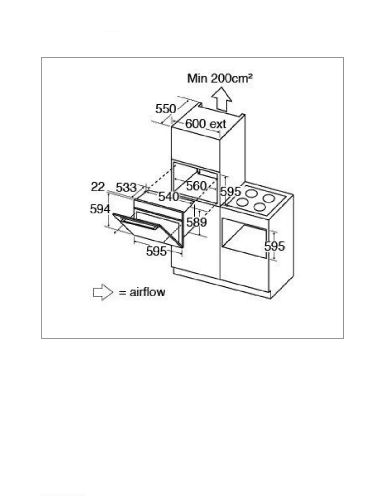
Fig. 12
Fault
Code
Fault
description
E1
T
emperature sensor faulty
E2
T
emperature sensor short circuit
E4
T
emperature sensor circuit failure
E8
L
atch
time
ex
cessive
E64
Mode selector disconnected
O
THERS
The sum of a combination of the
above codes
26
28
Related product manuals
CDA SK320
28 pages
CDA sk450
28 pages
CDA sk400
28 pages
CDA SC212
12 pages
CDA SV430
16 pages
CDA SC050
36 pages
CDA SL400SS
36 pages
CDA SV310SS
24 pages
CDA SL550SS
40 pages
CDA SL500SS
36 pages
CDA SC210 Series
48 pages
CDA SV 150L Series
32 pages