EasyManua.ls Logo

Central Pneumatic 91044 - Operation

Central Pneumatic 91044
12 pages
Print Icon
To Next Page IconTo Next Page
To Next Page IconTo Next Page
To Previous Page IconTo Previous Page
To Previous Page IconTo Previous Page
Loading...
Page 5SKU 91044 For technical questions, please call 1-800-444-3353.
Unpacking
When unpacking, check to make sure the parts listed on page 11 are
included. If any parts are missing or broken, please call Harbor Freight Tools at
the number on the cover of this manual as soon as possible.
Operation
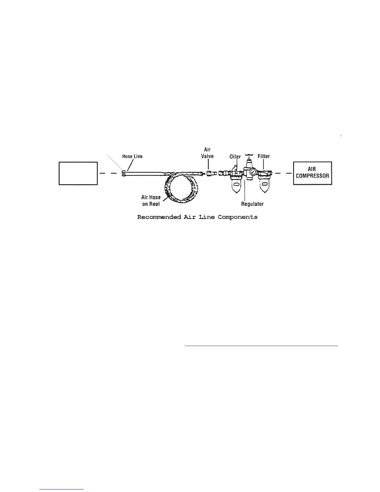
1. You will need to prepare a 1/4” air connector (sold separately) to connect to the air inlet
on the Nailer. First, wrap the 1/4” air connector (not included) with pipe thread seal tape
before threading it into the Air Inlet (90). Connect the 3/8” ID Air Source Hose to the
Nailer.
Note: If you are not using an automatic oiler system, before operation, add a few drops of
Pneumatic Tool Oil to the airline connection. Add a few drops more after each hour of
continual use.
2. Set the air pressure on your compressor to 70 to 125 PSI. Do not exceed the maxi-
mum air pressure of 125 PSI.
3. Check the air connection for leaks. Disconnect the Nailer from the air source hose.
1/4” NPT
Nailer
Rev 11/06

Related product manuals